ÚVOD | Novinky | 8 Bitů | Příslušenství | Drobnosti | TTL | Kontakt
SAPI-1 | ONDRA | PMI-80 | PMD-85 | klony PMD-85 | klony SM50/40 | PETR | PLAN-80A | IQ151 | TNS | FK-1 | HVĚZDA | SP 830 | PCS 1-QR6000 | TEMS
Mikropočítač PP01 | Příslušenství k PP01
PP01 je velmi zajímavý 8 bitový počítač na československé poměry. Počítač má v základu barevný výstup a umožňuje
adresovat až 1MB RAM. Co jsem zjistil tak hodinový obvod 8224 je nahrazen logikou ale zatím netuším proč.
Byl jsem upozorněn že svatá trojce je v PP01 kompletní ale obvod 8224 se nachází na nečekaném místě viz
ZDE. Mé nadšení z PP01 zkazila klávesnice která se tváří jako
profesionální ale používá mechanické spínače určené pro číselníky telefoniích přístroju (stejné spínače používá i
PMD-85-1) a dále příšerným dílenským zpracováním.
Něco málo o PP01 je zde:
http://dex.bloguje.cz/788858-zvt-smep-pp-01-color.php
http://litildivil.cz/sbirka/pocitace/PP01.htm
http://daluth.sweb.cz/pp01.php
|
|
|
|
|
|
|
|
|
|
|
|
|
|
|
|
|
|
|
|
|
|
|
|
|
|
|
|
|
|
|
|
|
|
|
|
|
|
|
|
|
|
|
|
|
|
|
|
|
|
|
|
|
|
|
|
|
|
|
|
|
|
|
|
|
|
|
|
|
|
|
|
|
|
|
|
|
|
|
|
|
|
|
|
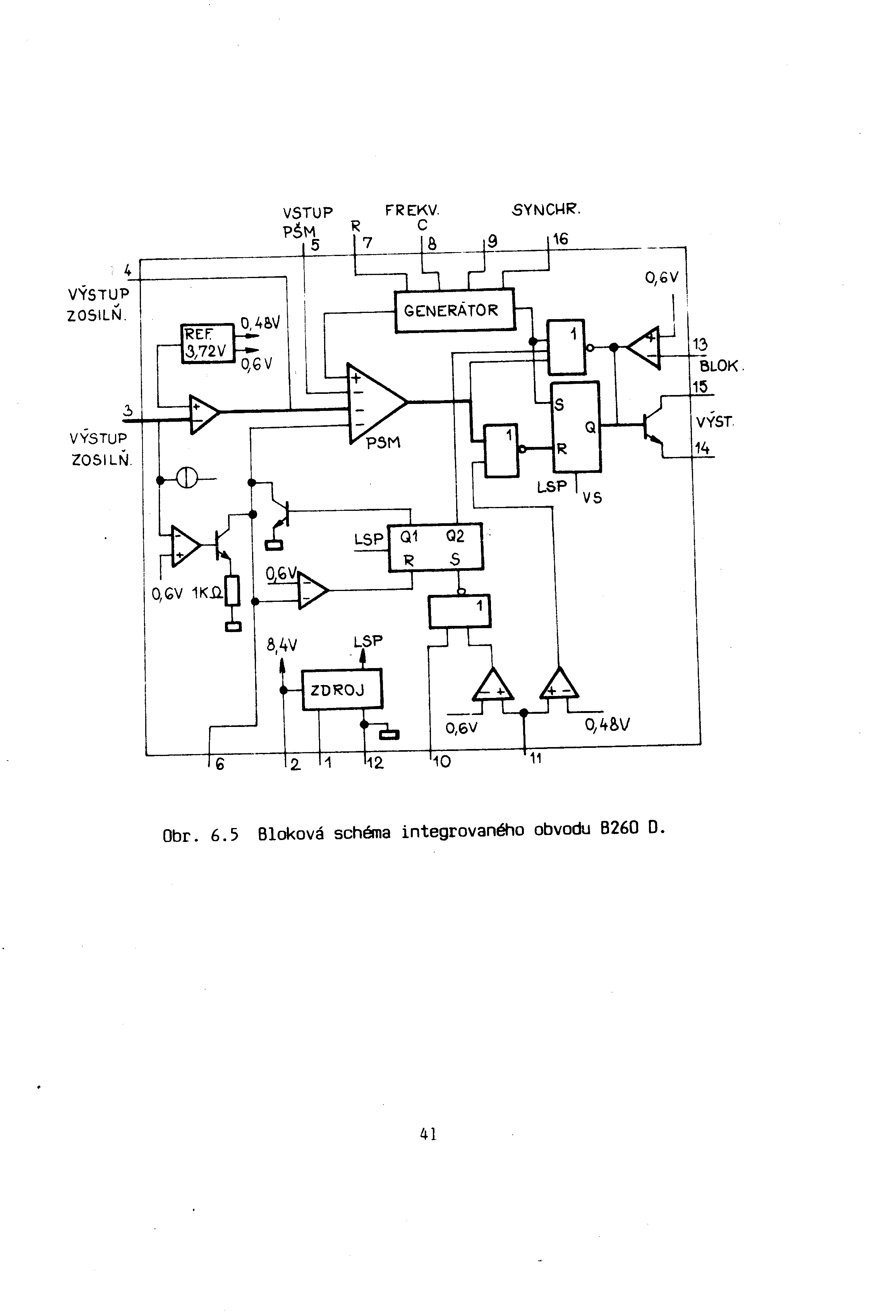
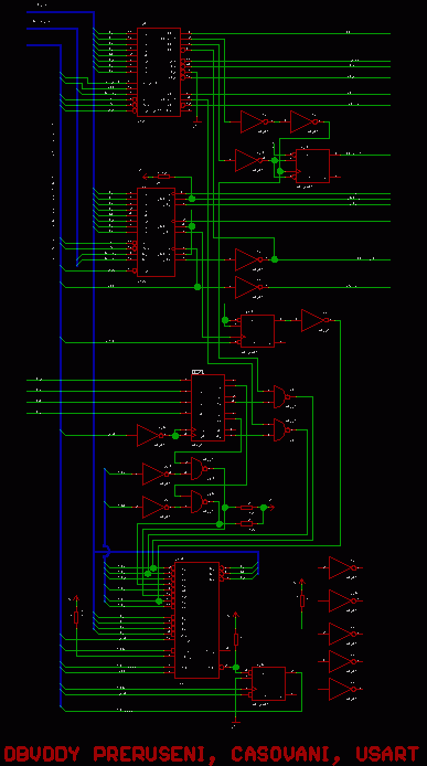
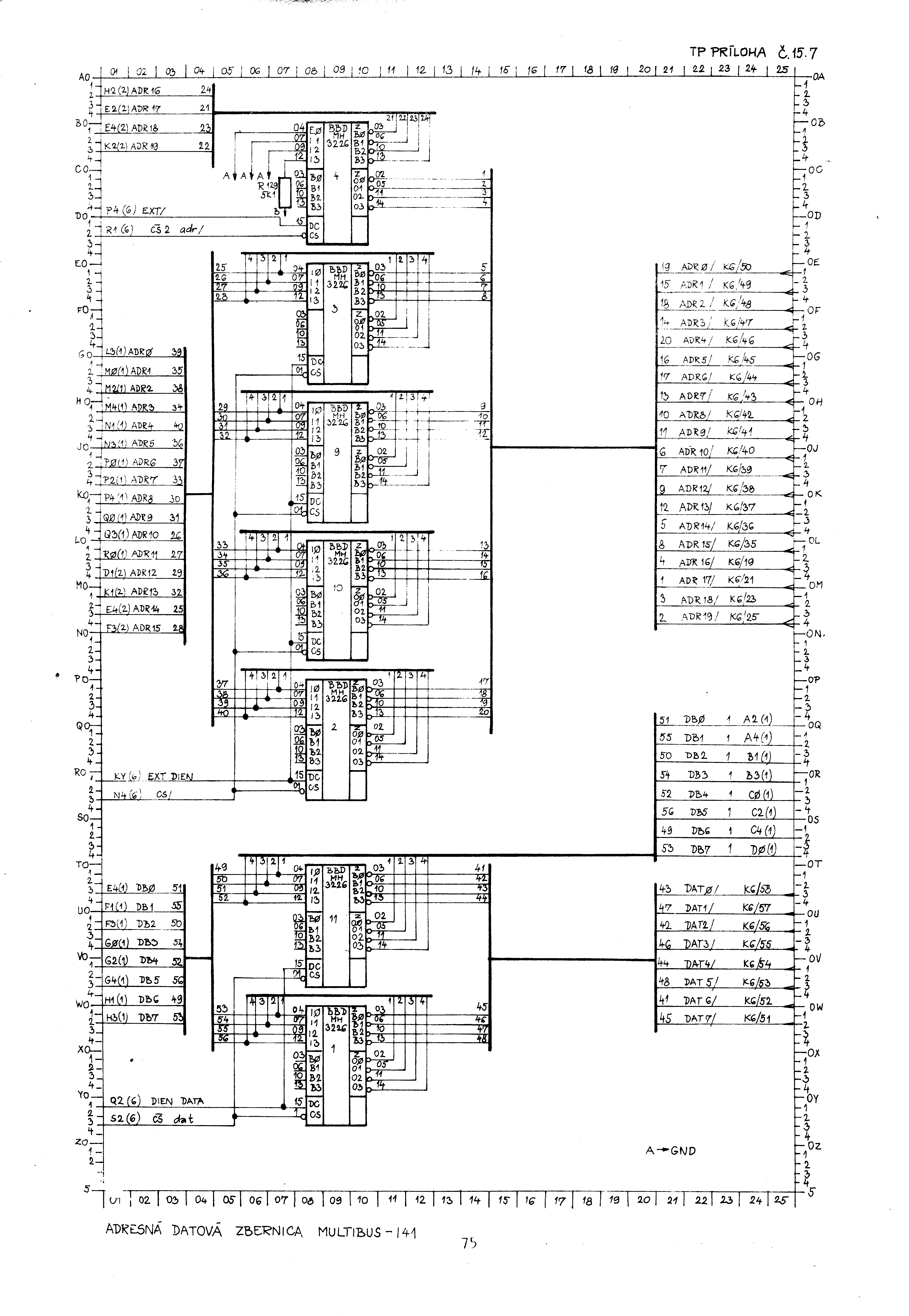
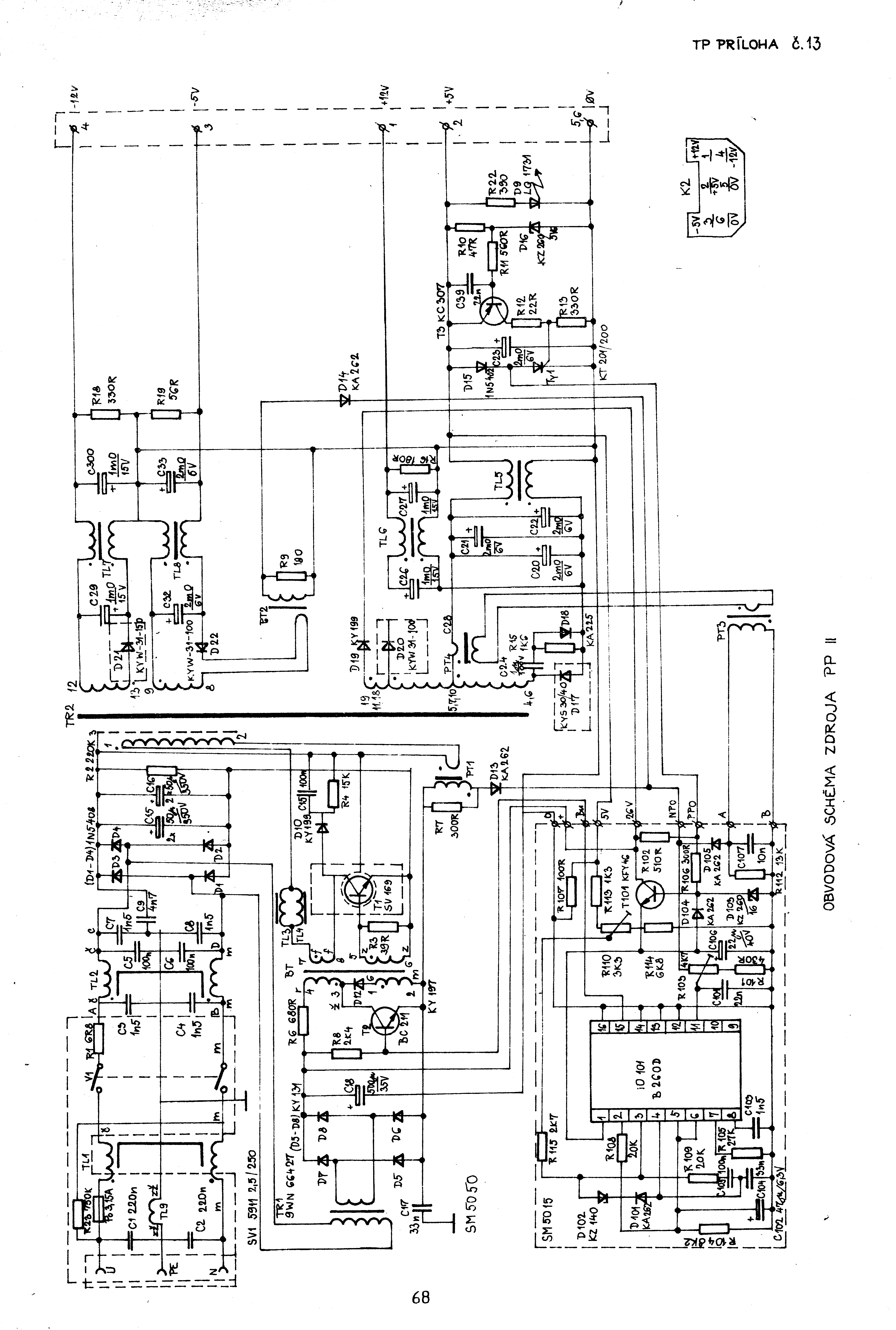
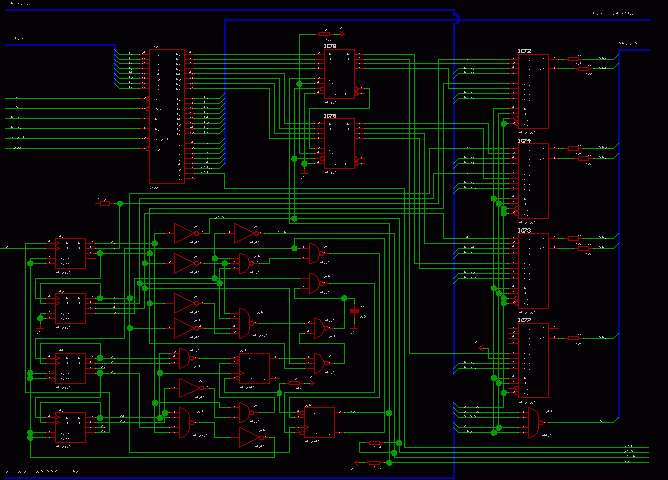
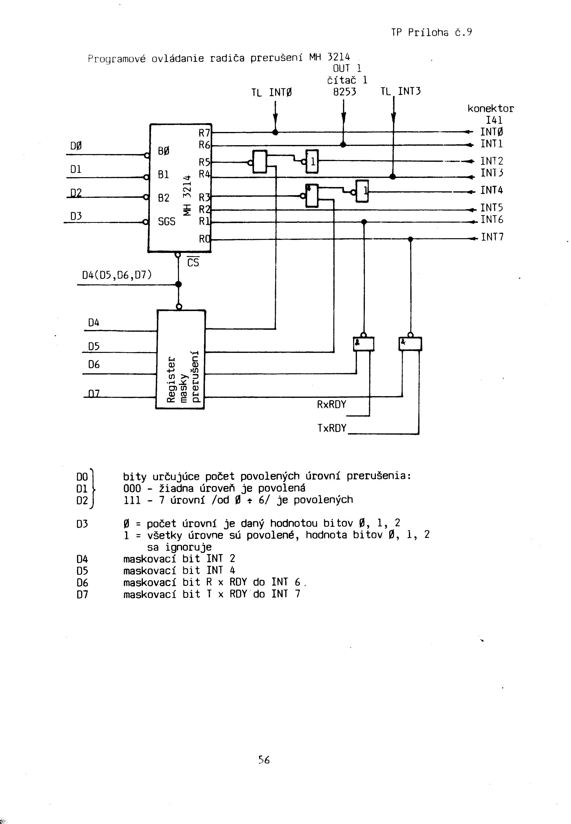
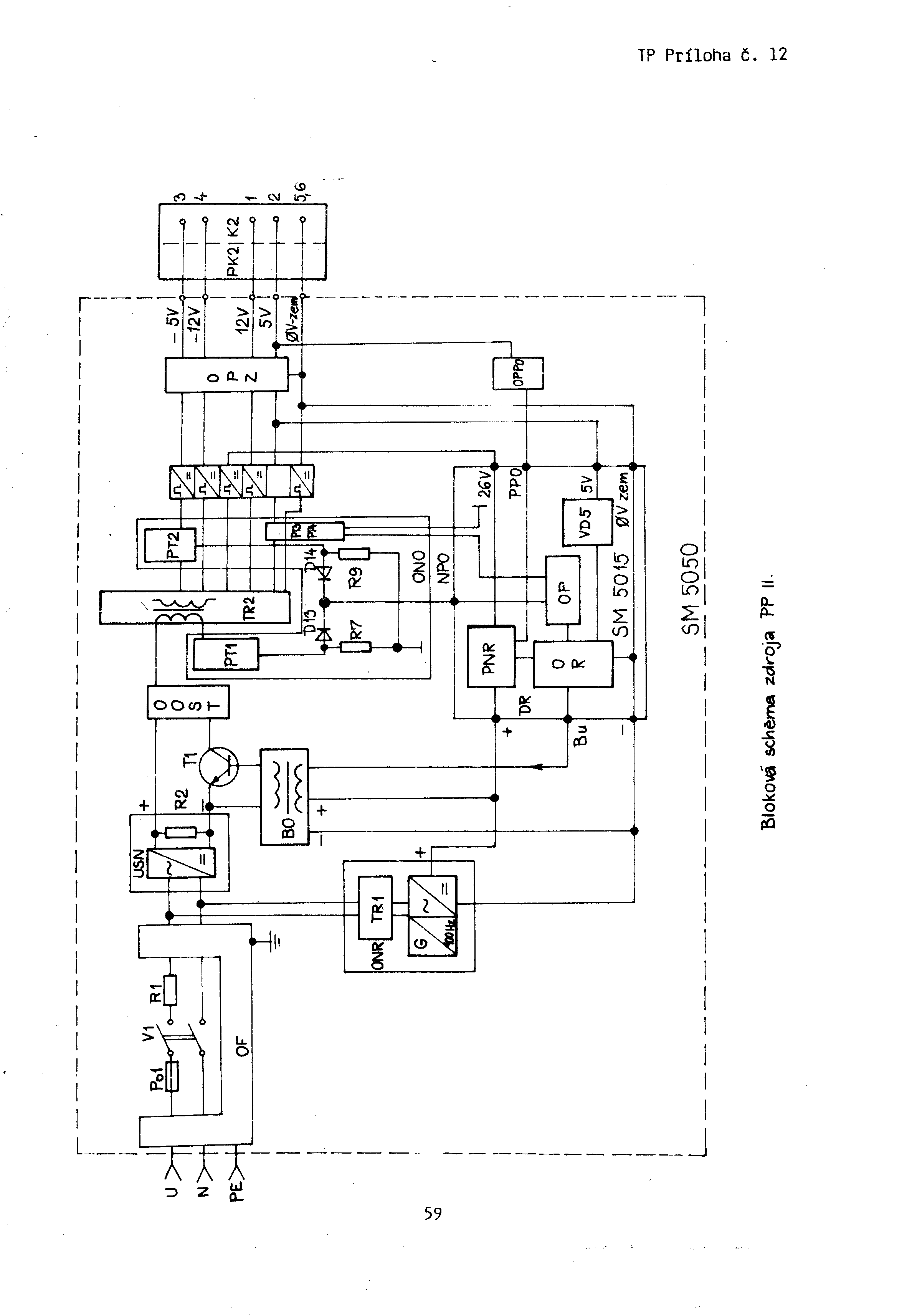
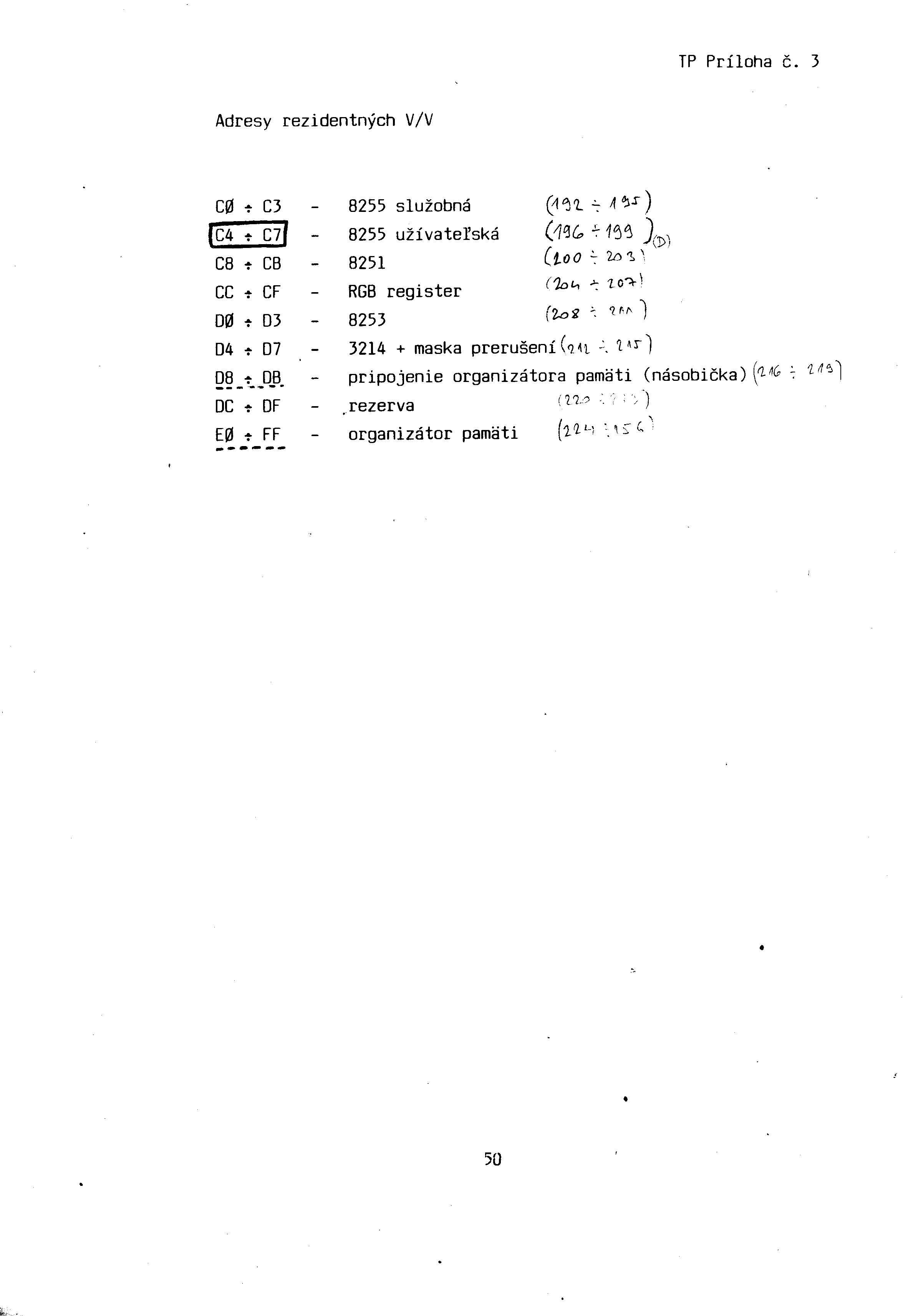
Schéma SM3103 POČÍTAČ, černobílá verze ZDE.
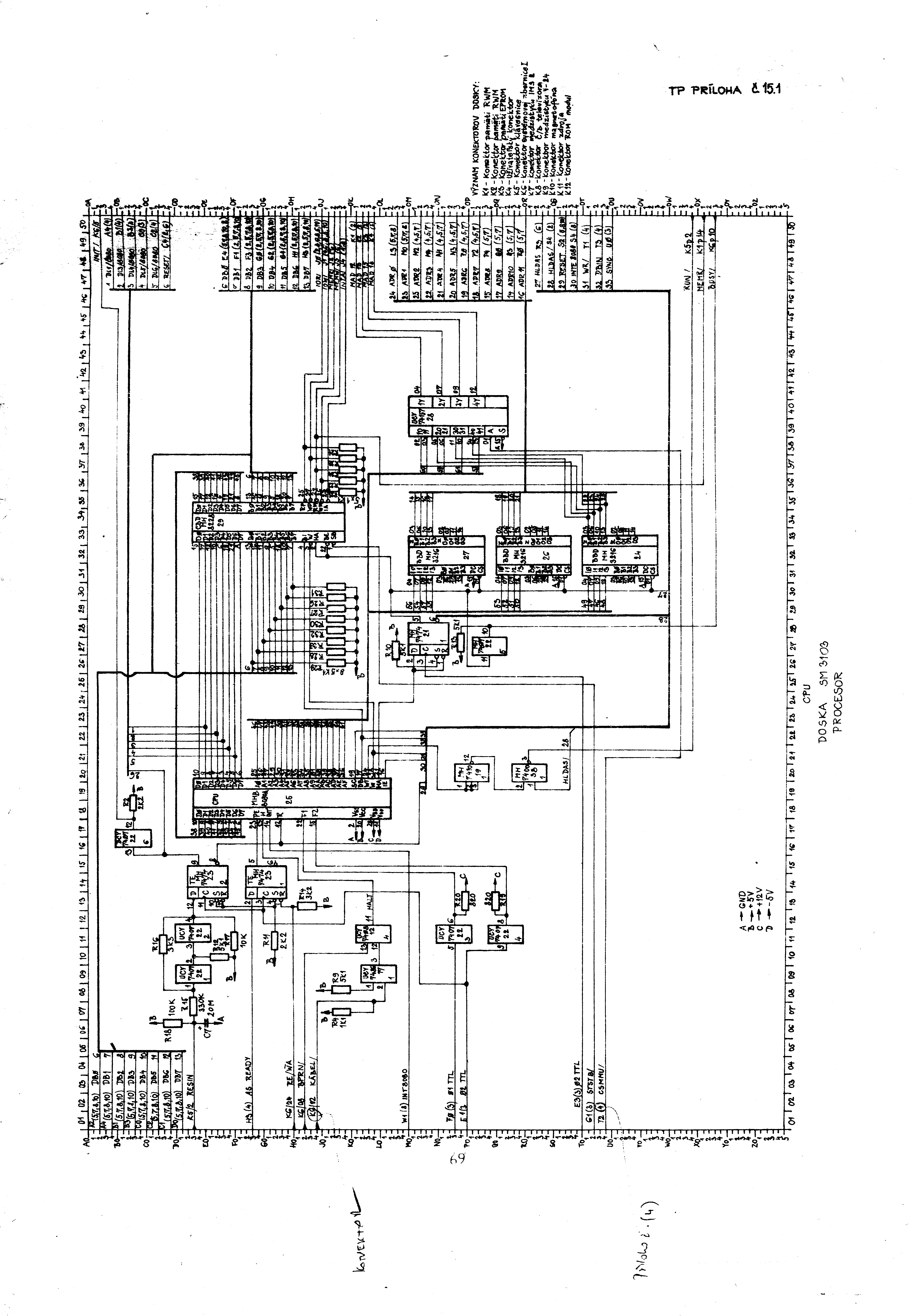
Schéma SM3103 1/11, černobílá verze ZDE.
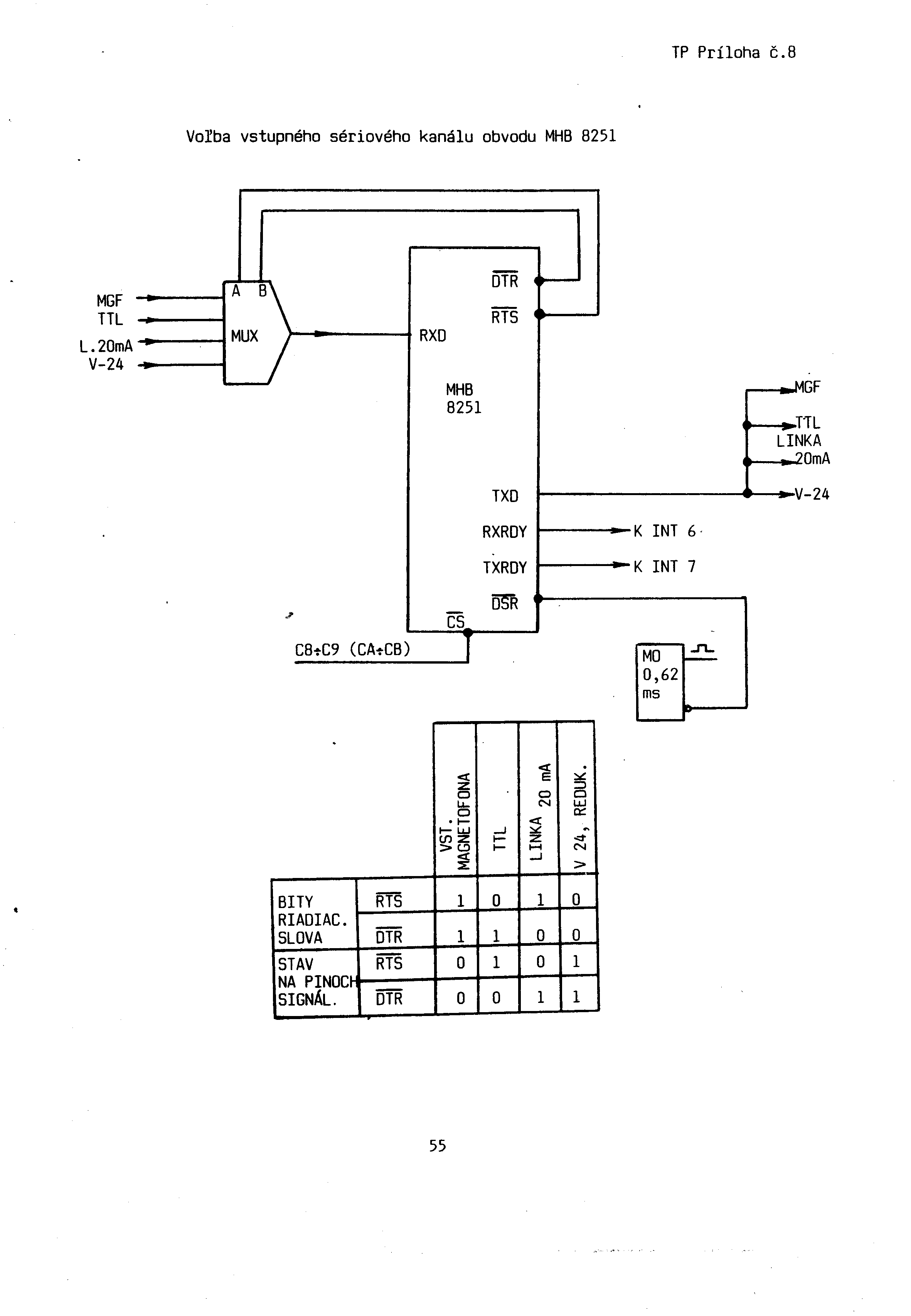
Schéma SM3103 2/11, černobílá verze ZDE, původní schéma ZDE a černobílá verze ZDE.
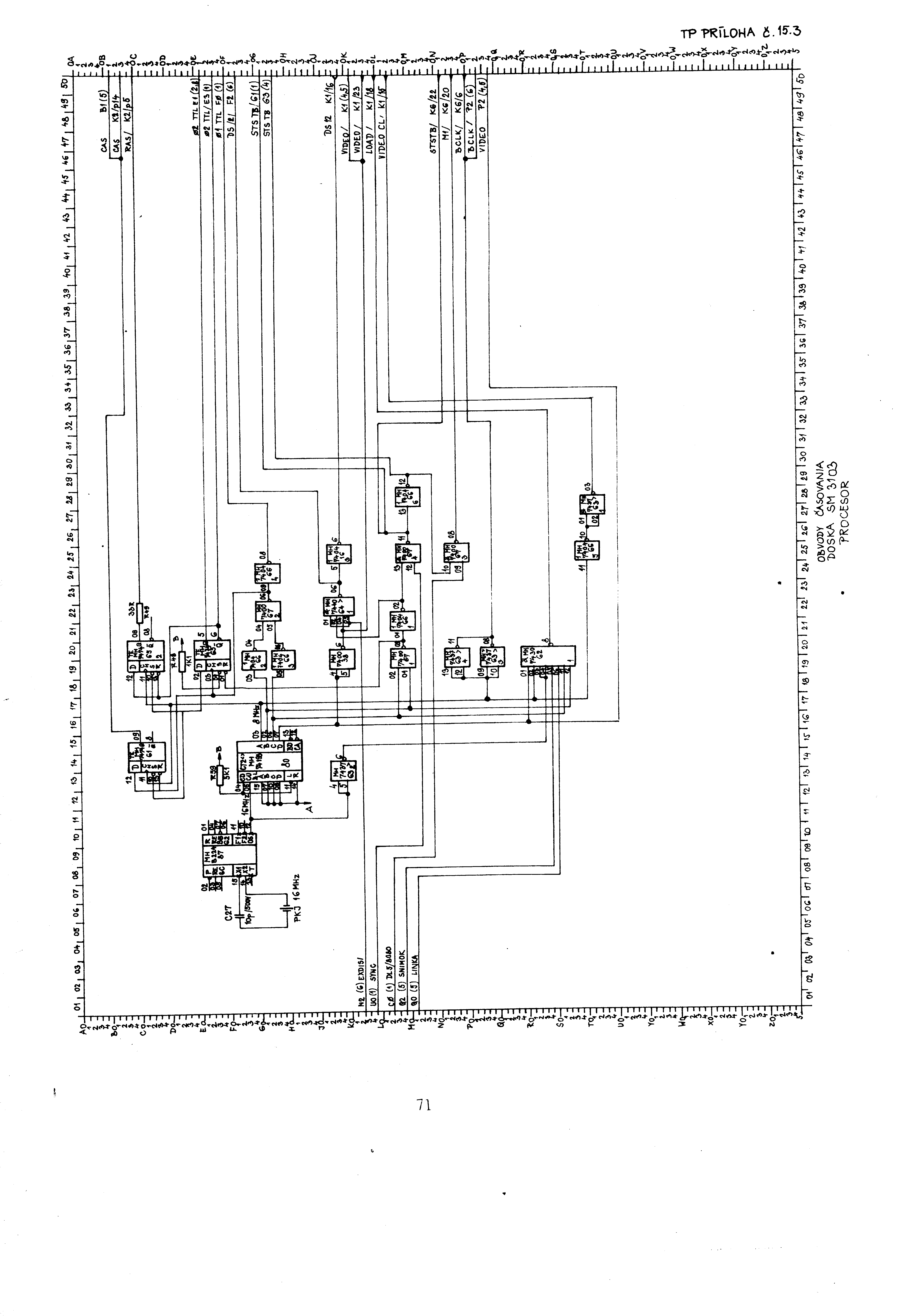
Schéma SM3103 3/11, černobílá verze ZDE, původní schéma ZDE a černobílá verze ZDE.
Schéma SM3103 4/11, černobílá verze ZDE, původní schéma ZDE a černobílá verze ZDE.
Schéma SM3103 5/11, černobílá verze ZDE, původní schéma ZDE a černobílá verze ZDE.
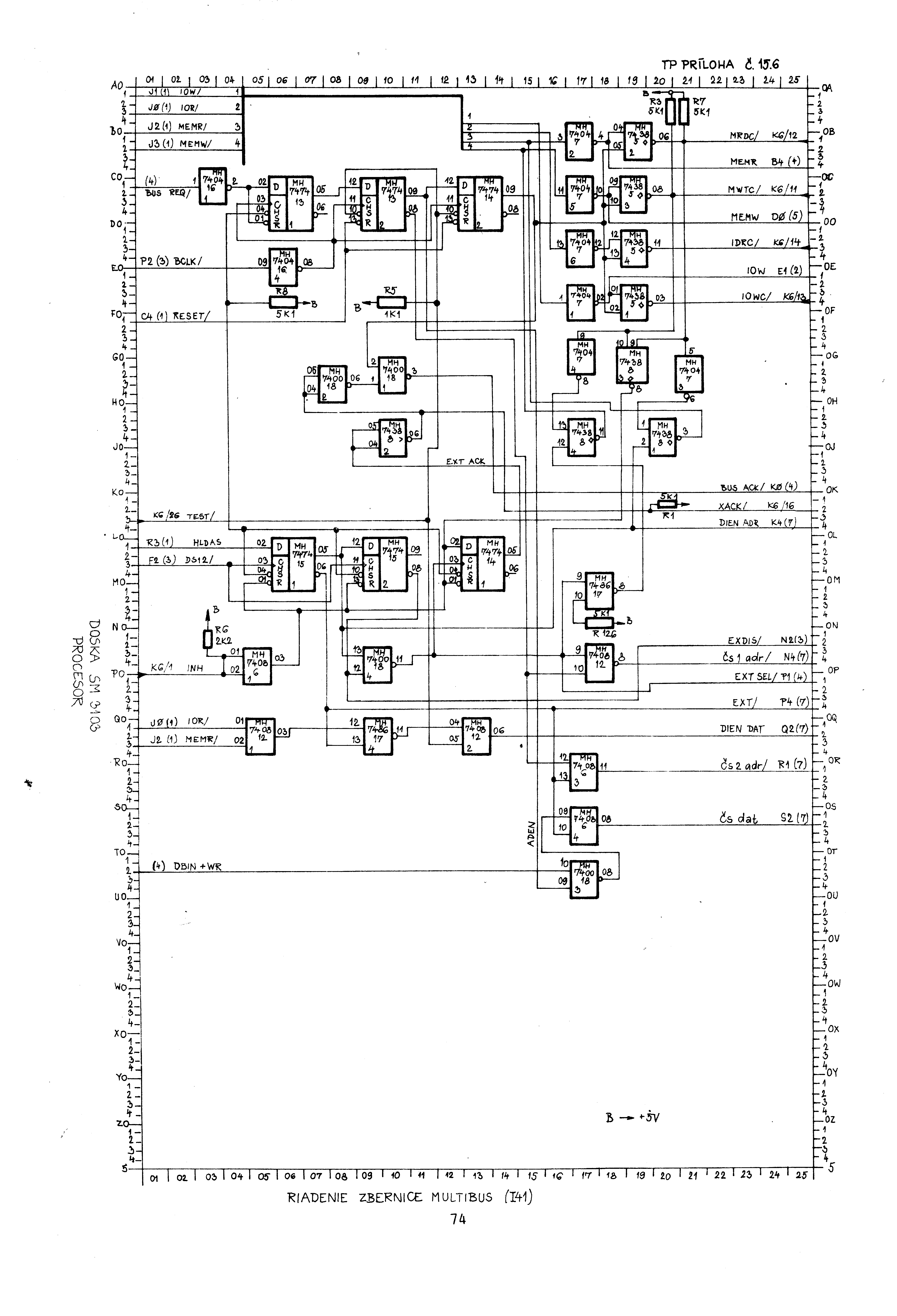
Schéma SM3103 6/11, černobílá verze ZDE, původní schéma ZDE a černobílá verze ZDE.
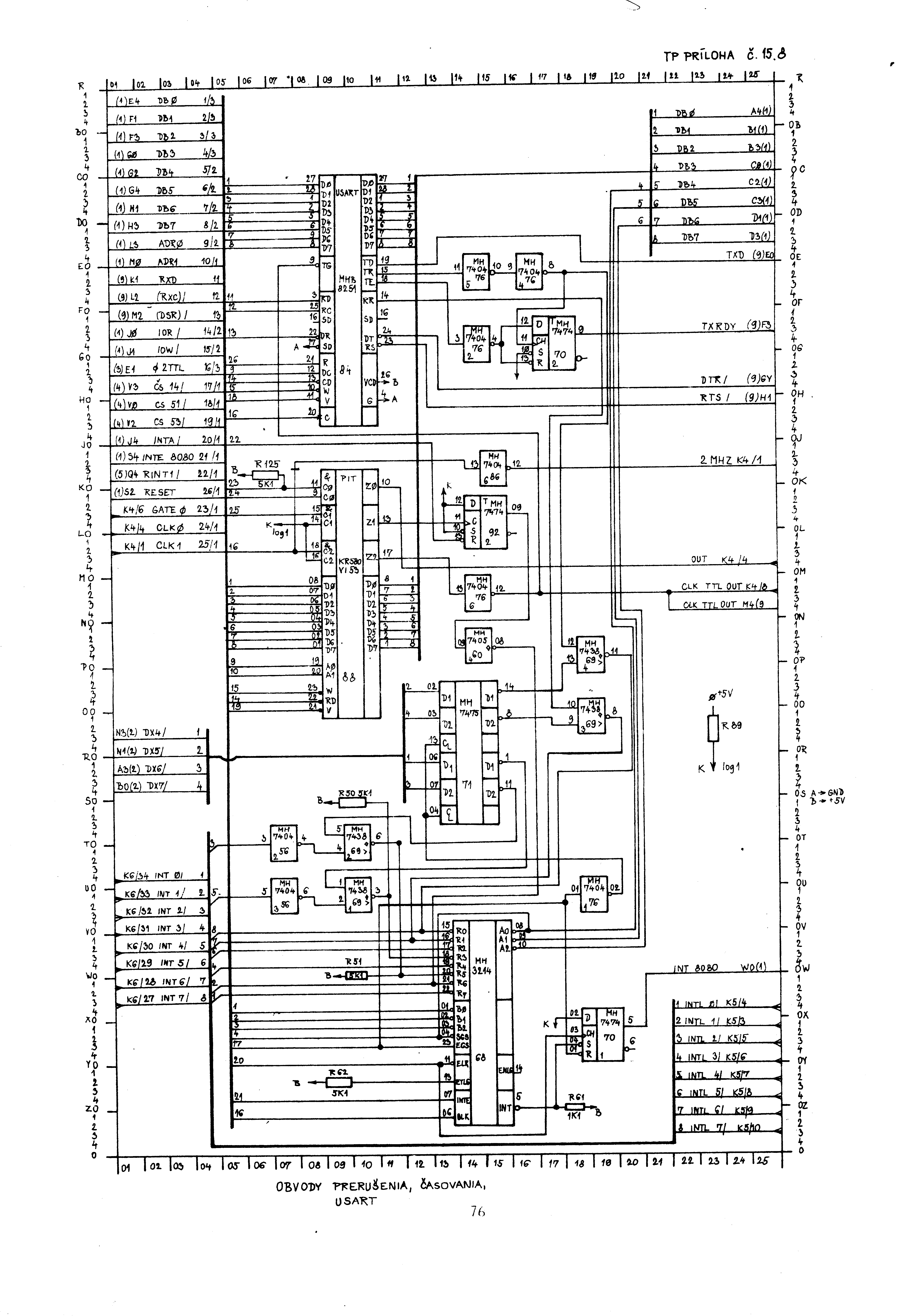
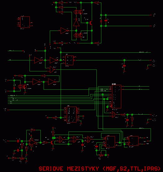
Schéma SM3103 7/11, černobílá verze ZDE, původní schéma ZDE a černobílá verze ZDE.
Schéma SM3103 8/11, černobílá verze ZDE, původní schéma ZDE a černobílá verze ZDE.
Schéma SM3103 9/11, černobílá verze ZDE, původní schéma ZDE a černobílá verze ZDE.
Schéma SM3103 10/11, černobílá verze ZDE, původní schéma ZDE a černobílá verze ZDE.
Schéma SM3103 11/11, černobílá verze ZDE, původní schéma ZDE a černobílá verze ZDE.
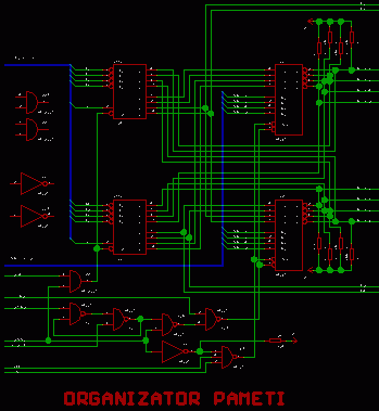
Schéma SM3105 RWM, černobílá verze ZDE, původní schéma ZDE 1/2 2/2 a černobílá verze ZDE 1/2 2/2.
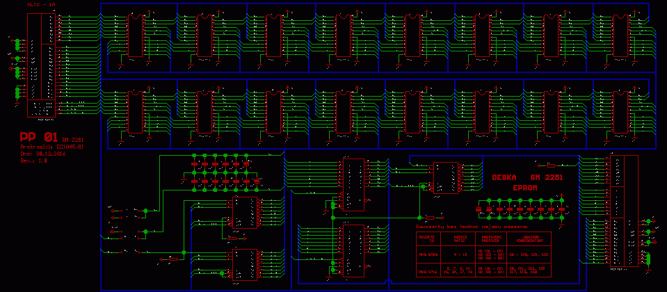
Schéma SM2251 EPROM, černobílá verze ZDE, původní schéma ZDE a černobílá verze ZDE.
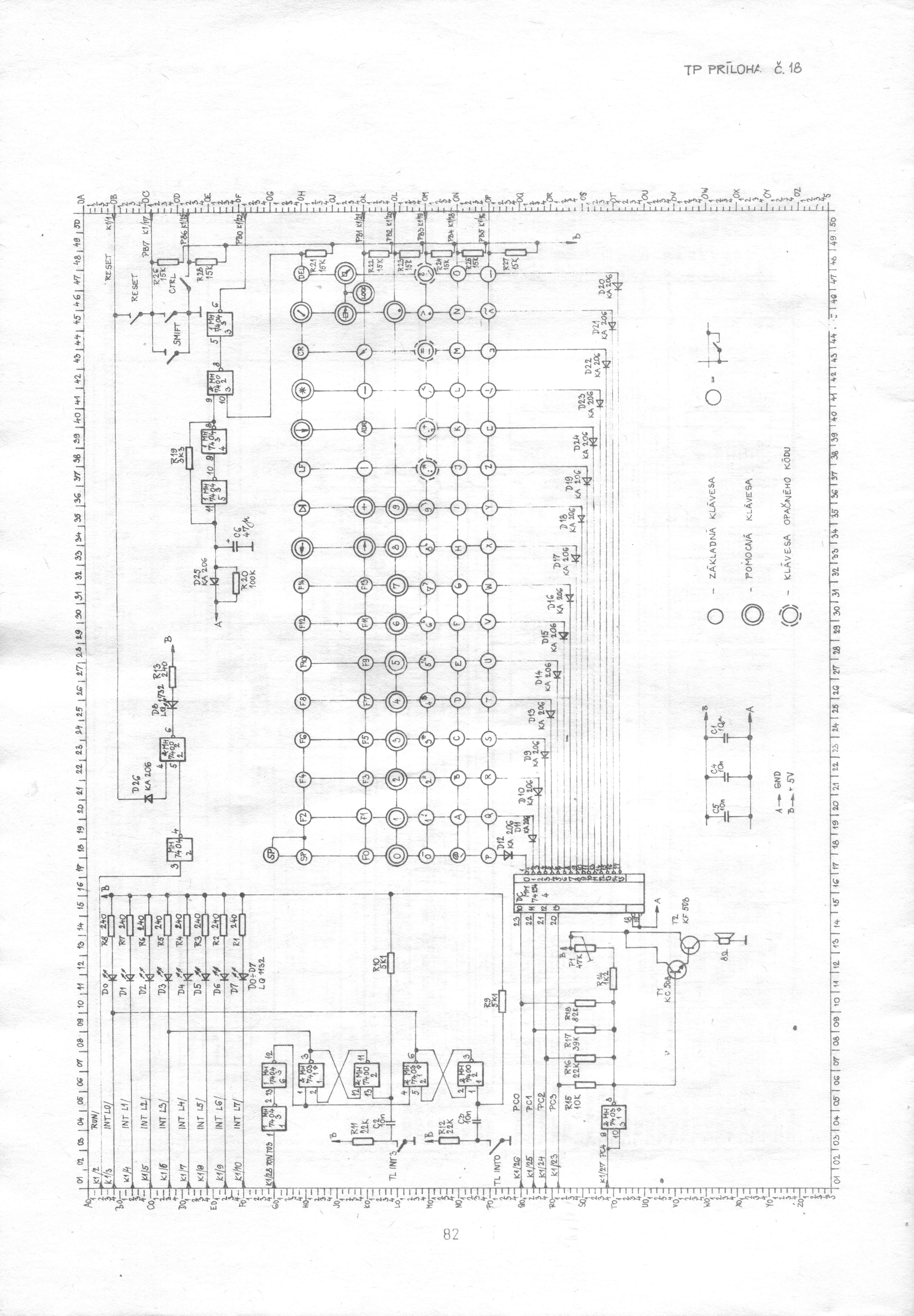
Schéma SM2257 KLÁVESNICE, černobílá verze ZDE, původní schéma ZDE a černobílá verze ZDE.
|
|
|
|
|
|
|
|
|
|
|
|
|
|
|
|
|
|
|
|
|
|
|
|
|
|
|
|
|
|
|
|
|
|
ÚVOD | Novinky | 8 Bitů | Příslušenství | Drobnosti | TTL | Kontakt
SAPI-1 | ONDRA | PMI-80 | PMD-85 | klony PMD-85 | klony SM50/40 | PETR | PLAN-80A | IQ151 | TNS | FK-1 | HVĚZDA | SP 830 | PCS 1-QR6000 | TEMS
Mikropočítač PP01 | Příslušenství k PP01