ÚVOD | Novinky | 8 Bitů | Příslušenství | Drobnosti | TTL | Kontakt


SAPI-1 | ONDRA | PMI-80 | PMD-85 | klony PMD-85 | klony SM50/40 | PETR | PLAN-80A | IQ151 | TNS | FK-1 | HVĚZDA | SP 830 | PCS 1-QR6000 | TEMS


8 bity / PCS 1-QR6000 / QR6006




QR6006



OCR z dokumentace:

Technické zprávy
Čidla a regulátory

TESLA TŘINEC, k. p.
739 39 Třinec, Oldřichovice
telefon 23 611, dálnopis 52 610



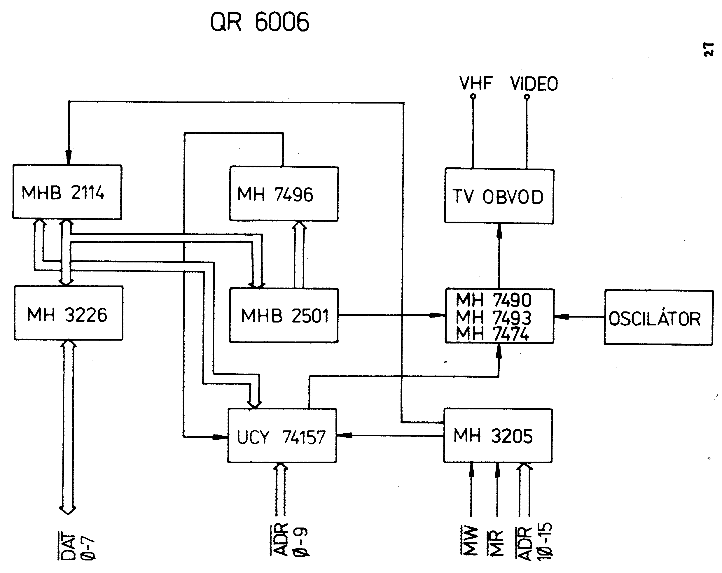
QR 6006 TVCRT



Modul TVCRT zobrazuje 24 řádků po 32 znacích. Zobrazovací znaky jsou dány použitým generátorem znaků MHB 2501 ( 64 znaků v rastru 5x7 bodů), případně obvodem paměti EPROM typu MHB 2716 ( 256 znaků libovolných v rastru 5x8 bodů ). Vlastní paměť zobrazení má kapacitu 1 KBytů a je umístěna v adresovém prostoru od adresy FC00H a tím začleněna do operačního systému REGOS. Výstupem je úplný TV signál umožňující připojení obrazového monitoru přes výstup VIDEO nebo TV přijímač přes výstup VF.


Technická data:

napájecí napětí
UCC = +5V ±0,25V
UGG = -12V ±0,5V

odběr proudu stanovený dle katalogových údajů a osazení desky
ICC = 1 225mA
IGG = 22mA

rozměry
20 x 130 x 186,5 ( mm ) ( š x v x d )

hmotnost
max. 155g

napěťové úrovně TTL:
0 ≤ L ≤ 0,8 ( V )
2 ≤ H ≤ 5,5 ( V )

vstupní signály
ADR0ADR15, MR, MW

výstupní signály
signál VHF o kmitočtu ležícím v 5.TV kanálu, výstupní impedance 75
signál video o amplitudě 3VŠŠ

vstupní a výstupní signály
DAT0DAT7






Schéma QR6006 a černobílá verze ZDE.




DPS QR6006





ÚVOD | Novinky | 8 Bitů | Příslušenství | Drobnosti | TTL | Kontakt


SAPI-1 | ONDRA | PMI-80 | PMD-85 | klony PMD-85 | klony SM50/40 | PETR | PLAN-80A | IQ151 | TNS | FK-1 | HVĚZDA | SP 830 | PCS 1-QR6000 | TEMS


8 bity / PCS 1-QR6000 / QR6006



SAPI.cz - web o československých osmibitech, zejména SAPI-1. Provozuje EC1045 od roku 2011
Za korekce češtiny dekuji: MELSOFTovi, Silliconovi, Martinu Lukáškovi a NOSTALCOMPovi

Když začínám blbnout z 8bitů tak se chodím léčit mezi otaku.
Animefest.cz