ÚVOD | Novinky | 8 Bitů | Příslušenství | Drobnosti | TTL | Kontakt


SAPI-1 | ONDRA | PMI-80 | PMD-85 | klony PMD-85 | klony SM50/40 | PETR | PLAN-80A | IQ151 | TNS | FK-1 | HVĚZDA | SP 830 | PCS 1-QR6000 | TEMS


8 bity / PCS 1-QR6000 / QR6007


OCR z dokumentace:

Technické zprávy
Čidla a regulátory

TESLA TŘINEC, k. p.
739 39 Třinec, Oldřichovice
telefon 23 611, dálnopis 52 610



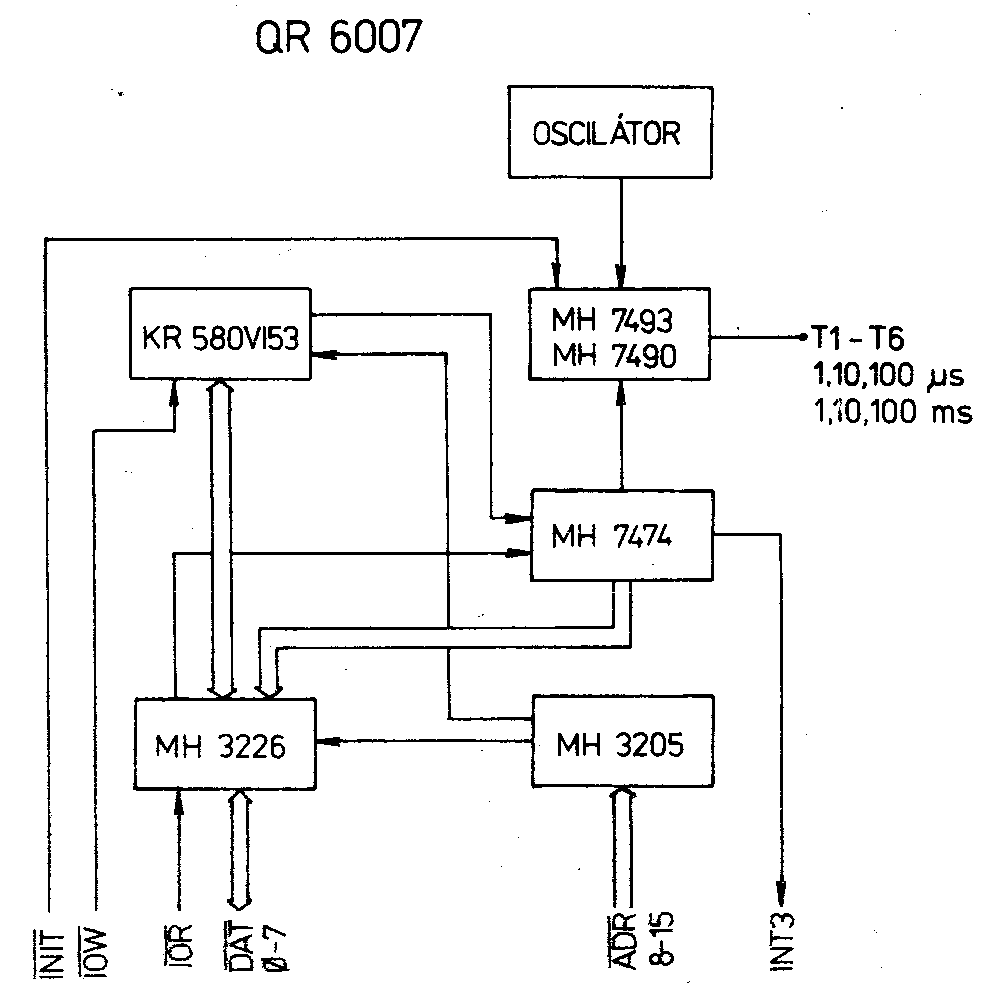
QR 6007 RT



Modul RT je určen k vytvoření hodin reálného času. Funkce modulu vychází z obvodu KR 580 VI 53 ( 8253 ) a kmitočtové ústředny s vlastním oscilátorem řízeným krystalem. Tímto uspořádáním vzniknou 3 nezávislé časovače, jejichž výstupy ve zvoleném časovém intervalu vytvářejí požadavek na přerušení. Volba periody vstupních impulsů časovače se mění pomocí propojek. Časový interval je volen programovou předvolbou KR 580 VI 53. Periody impulsů z desky modulu RT, kterých je možno použít jako hodinové impulsy pro programovatelné čítače obvodu KR 580 VI 53 ( ekvivalent fy 8253 ):

a )1 µs   d )1 ms
b )10 µse )10 ms
c )100 µsf )100 ms


Technická data:

napájecí napětí
UCC = +5V ±0,25V

odběr proudu stanovený dle katalogových údajů a osazení desky
ICC = 1 000mA

rozměry modulu
20 x 130 x 186,5 ( mm ) ( š x c x d )

hmotnost
max. 120g

napěťové úrovně TTL:
0 ≤ L ≤ 0,8 ( V )
2 ≤ H ≤ 5,5 ( V )

vstupní signály
ADR8ADR15, IOW, IOR, INIT aktivní v " 0 "

výstupní signály
INT3 aktivní v " 0 "

vstupní a výstupní signály
DAT0DAT7





ÚVOD | Novinky | 8 Bitů | Příslušenství | Drobnosti | TTL | Kontakt


SAPI-1 | ONDRA | PMI-80 | PMD-85 | klony PMD-85 | klony SM50/40 | PETR | PLAN-80A | IQ151 | TNS | FK-1 | HVĚZDA | SP 830 | PCS 1-QR6000 | TEMS


8 bity / PCS 1-QR6000 / QR6007



SAPI.cz - web o československých osmibitech, zejména SAPI-1. Provozuje EC1045 od roku 2011
Za korekce češtiny dekuji: MELSOFTovi, Silliconovi, Martinu Lukáškovi a NOSTALCOMPovi

Když začínám blbnout z 8bitů tak se chodím léčit mezi otaku.
Animefest.cz