ÚVOD | Novinky | 8 Bitů | Příslušenství | Drobnosti | TTL | Kontakt


SAPI-1 | ONDRA | PMI-80 | PMD-85 | klony PMD-85 | klony SM50/40 | PETR | PLAN-80A | IQ151 | TNS | FK-1 | HVĚZDA | SP 830 | PCS 1-QR6000 | TEMS


8 bity / PCS 1-QR6000 / QR6008


OCR z dokumentace:

Technické zprávy
Čidla a regulátory

TESLA TŘINEC, k. p.
739 39 Třinec, Oldřichovice
telefon 23 611, dálnopis 52 610



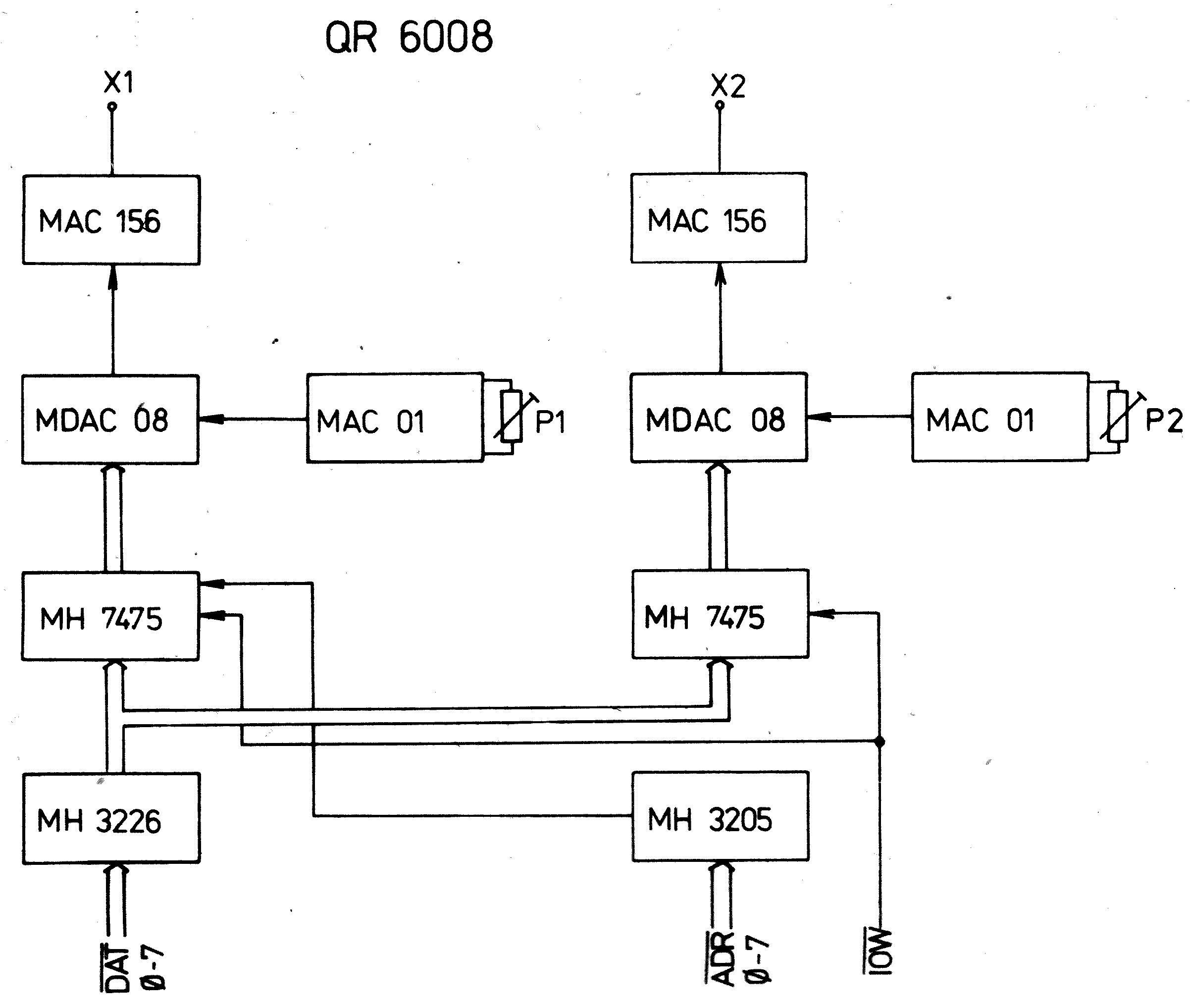
QR 6008 DAC



Modul DAC obsahuje dva osmibitové číslicově - analogové převodníky. Výstupní signály obou převodníků jsou vyvedeny konektory na dílčím panelu jednotky. Převodníky převádí osmibitové číslo v přímém binárním kódu na napěťový výstupní signál v rozmezí 0 až 10V, 0 až 20mA. Informace určena k DA převodu se odešle pomocí instrukce OUT nn do výstupního adresového registru funkční jednotky, kde je držena tak dlouho, pokud nedojde k jejímu přepisu informací novou. Umístění funkční jednotky v množině adres se provede v propojovacích polích dekodéru adres J1 a J2. Potenciometry P1 a P2 slouží k přesnému nastavení výstupního napěťového rozsahu převodníků. Od datové systémové sběrnice je jednoka oddělena obousměrnými budiči sběrnic s třístavovým výstupem. Použitý řídící signál IOW.


Technická data :

napájecí napětí
UCC = +5V, ±0,25V
UDD = +12V, ±0,5V
UGG = -12V, ±0,5V

odběr proudu stanovený dle katalogových údajů a osazení desky
ICC = 655mA
IDD = 33mA
IGG = 50mA

rozměry modulu
20 x 130 x 186,5 ( mm ) ( š x v x d )

hmotnost
max. 130g

napěťové úrovně TTL:
0 ≤ L ≤ 0,8 ( V )
2 ≤ H ≤ 5,5 ( V )

Vstupní signály modulu
ADR0ADR7, IOW aktivní v " 0 "
DAT0DAT7 datové vstupy a výstupy oddělené negujícími budiči D1 a D2

výstupní signály modulu
0 až 10 ( V ) na svorkách X1 a X2





ÚVOD | Novinky | 8 Bitů | Příslušenství | Drobnosti | TTL | Kontakt


SAPI-1 | ONDRA | PMI-80 | PMD-85 | klony PMD-85 | klony SM50/40 | PETR | PLAN-80A | IQ151 | TNS | FK-1 | HVĚZDA | SP 830 | PCS 1-QR6000 | TEMS


8 bity / PCS 1-QR6000 / QR6008



SAPI.cz - web o československých osmibitech, zejména SAPI-1. Provozuje EC1045 od roku 2011
Za korekce češtiny dekuji: MELSOFTovi, Silliconovi, Martinu Lukáškovi a NOSTALCOMPovi

Když začínám blbnout z 8bitů tak se chodím léčit mezi otaku.
Animefest.cz