ÚVOD | Novinky | 8 Bitů | Příslušenství | Drobnosti | TTL | Kontakt


SAPI-1 | ONDRA | PMI-80 | PMD-85 | klony PMD-85 | klony SM50/40 | PETR | PLAN-80A | IQ151 | TNS | FK-1 | HVĚZDA | SP 830 | PCS 1-QR6000 | TEMS


8 bity / PCS 1-QR6000 / QR6009


OCR z dokumentace:

Technické zprávy
Čidla a regulátory

TESLA TŘINEC, k. p.
739 39 Třinec, Oldřichovice
telefon 23 611, dálnopis 52 610



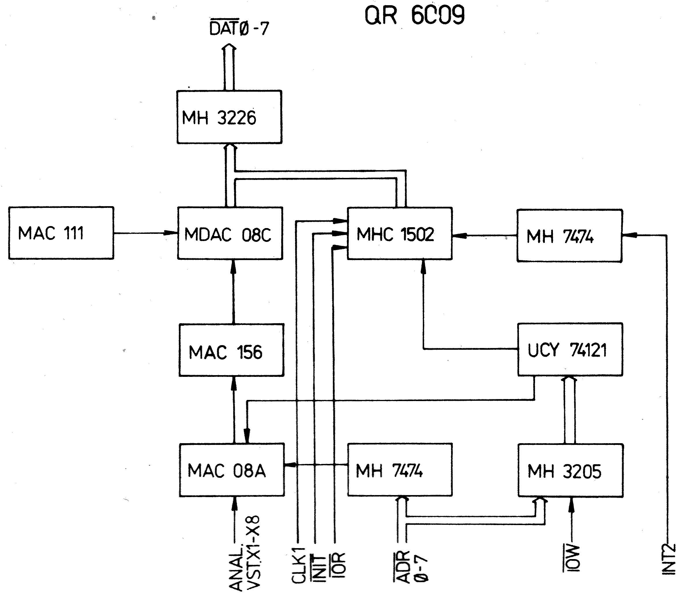
QR 6009 ADC 8M



Modul ADC 8M slouží k převodu analogového napětí 0 až 5 ( V ) na osmibitovou číslicovou informaci. Převod se provádí pomocí postupné aproximace registru MHC 1502, číslicově analogového převodníku MDAC 08 a rychlého komparátoru MAC 111. Programově ovládaný osmikanálový analogový multiplexor zabezpečuje přepínání osmi analogových vstupů. Mezi analogový multiplexor a vlastní převodník je zařazena analogová paměť (vzorkovací zesilovač) osazena operačním zesilovačem MAC 156. Obvody funkční jednotky ADC 8M jsou spojeny se signálovou sběrnicí regulátoru QR 6000 signály:
DAT0 - DAT7, ADR0 - ADR7, IOR a IOW. Přenos dat z jednotky ADC 8M může být inicializován signálem požadavku na přerušení INT2. Signály IOR, IOW, INT2 mají negativní aktivní úroveň. Konverzace vstupního analogového signálu zvoleného kanálu prostřednictvím modulu ADC 8M se provádí pomocí této posloupnosti instrukcí:

OUT	ADR	; ADR = 10H - 17H, podle zvoleného vstupního kanálu
HLT
IN	10	; převedený vstupní signál v akumulátoru

Technická data:

napájecí napětí
UCC = +5V, ±0,25V
UDD = +12V, ±0,5V
UGG = -12V, ±0,5V

odběr proudu stanovený dle katalogových údajů a osazení desky
ICC = 650mA
IDD = 35mA
IGG = 30mA

vstupní signály
ADR0ADR7, INIT, IOR, IOW a CLK1, analog. vstupy převodníku 0 až 5V, X1 - X8

výstupní signály
DAT0DAT7 datové výstupy oddělené negujícími budiči D1 a D2. Pro každý výstup je max. zátěž 10 vstupů TTL.





ÚVOD | Novinky | 8 Bitů | Příslušenství | Drobnosti | TTL | Kontakt


SAPI-1 | ONDRA | PMI-80 | PMD-85 | klony PMD-85 | klony SM50/40 | PETR | PLAN-80A | IQ151 | TNS | FK-1 | HVĚZDA | SP 830 | PCS 1-QR6000 | TEMS


8 bity / PCS 1-QR6000 / QR6009



SAPI.cz - web o československých osmibitech, zejména SAPI-1. Provozuje EC1045 od roku 2011
Za korekce češtiny dekuji: MELSOFTovi, Silliconovi, Martinu Lukáškovi a NOSTALCOMPovi

Když začínám blbnout z 8bitů tak se chodím léčit mezi otaku.
Animefest.cz