ÚVOD | Novinky | 8 Bitů | Příslušenství | Drobnosti | TTL | Kontakt


SAPI-1 | ONDRA | PMI-80 | PMD-85 | klony PMD-85 | klony SM50/40 | PETR | PLAN-80A | IQ151 | TNS | FK-1 | HVĚZDA | SP 830 | PCS 1-QR6000 | TEMS


Mikropočítač PMD-85 | Příslušenství k PMD-85


8 bity / PMD-85 / Příslušenství k PMD-85 / PMD-32





PMD-32



PMD-32 je inteligentní disketová jednotka tj. obsahuje radič s mikropočítačem. Modernizací PMD-30 vznikla PMD-32. Více zde.



Obsah:



OCR Slovenské dokumentace k PMD-32

                     NÁVOD NA POUŽITIE PMD-32
                   -==========================-


      1. Základné parametre PMD-32
      

      PMD-32 je disketová pamäťová jednotka určená pre uschovávame dát a pre 
prácu so súbormi dát pod operačným systémom MIKROS V2.2.
      Činnosť disketovej pamäti je riadená mikroprocesorom MHB 8080A s pod-
pornými obvodmi a radičom mechaniky pružných diskov fy Intel 8272A (ekv. NEC
uPD765A). Základný operačný systém v rozsahu 2kB je uložený v pamäti EPROM 
MHB 2716. Pamäť RWM v rozsahu 1kB (2 x MHB 2114) slúži ako pracovná pamäť pre
mikroprocesor a ako vyrovnávacia pamäť pre prenos dát pri čítaní resp. zápise 
na disketovú jednotku.
Programovateľný radič mechaniky pružných diskov I8272A zabezpečuje vykonáva-
nie základných diskových služieb (čítanie, zápis, formátovanie) a pracuje v 
režime DMA v súčinnosti s radičom DMA I8257 (ekv. K 580 IK 57).
Komunikácia disketovej jednotky s riadiacim počítačom je cez paralelný inter-
face realizovaný programovateľným obvodom MHB 8255A.


      Základné technické údaje o disketovej jednotke PMD-32:
      - spôsob záznamu: MFM, obojstranný (DD, DS)
      - počet stop: 2x40
      - počet sektorov na stope: 9
      - dĺžka sektora 512 bytes
      - pamäťová médium: obojstranná disketa 5¼"
      - celková kapacita jednej diskety: 360kB naformátovaných
      - počet pripojených mechaník pružných diskov: 2
      - rýchlosť prenosu: čítanie ... 7 ÷ 8kB/sec
                          zápis   ...     6kB/sec








                     NÁVOD NA POUŽITIE PMD-32
                   -==========================-


      1. Základné parametre PMD-32


      PMD - 32 je disketová pamäťová jednotka určená pre pripojenie k počítačom 
rady PMD 85(.2,.2A,.3) a slúži k uschovávaniu dátových súborov vytvorených 
buď priamo v strojovom kóde alebo pod programovacím jasy kom BASIC-G.


      Základné technické údaje o disketovej jednotke PMD-32:
      - spôsob záznamu: MFM, obojstranný (DD, DS)
      - počet stop: 2x40
      - počet sektorov na stope: 9
      - dĺžka sektora 512 bytes
      - pamäťová médium: obojstranná disketa 5¼"
      - celková kapacita jednej diskety: 360kB naformátovaných
      - počet pripojených mechaník pružných diskov: 2
      - rýchlosť prenosu: čítanie ... 7 ÷ 8kB/sec
                          zápis   ...     6kB/sec



Blokové schéma disketovej pamäti PMD – 32
-----------------------------------------

2. Prepojenie a spolupráca PMD-32 s PHD 85-2 Disketová pamäť PMD-32 pracuje v súčinnosti s mikropočítačom PMD 35-2 pod operačným systémom DOS PMD-32 V2.0, ktorý je v rozsahu 6kB uložený na prvých dvoch stopách systémovej diskety. Práca pod operačným systémom DOS PMD-32 na mikropočítači PMD 85-2 je podmie- nená spustením zavádzacieho programu. Tento je umiestnený v dvoch 1kB pamätia- ch EPROM, ktoré je nutné zasunúť do dvoch ľubovoľných pozícii ROM modulu (za sebou a v stanovenom poradí). a) Zostavenie pracoviska - jednotlivé časti sa vzájomne poprepájajú vo vypnu- tom stave; spojenie PMD-32 s PMD 85-2 je prostred- níctvom prepojovacieho kábla cez konektor K3. b) Zapnutie jednotlivých zariadení. c) Vloženie diskety s operačným systémom do mechaniky A. d) Po zavedení a ohlásení programovacieho jazyka BASIC-G sa príkazom ROMx automaticky zavedie operačný systém DOS PMD-32. x -číslo pozície prvej 1kB pamäte EPROM v ROM module Poznámka: --------- V prípade, že máte jednotlivé zariadenia prepojené, PMD-32 je vyp- nuté a pracujete len s mikropočítačom PMD 35-2, vy sa môžete dostať pod operačný systém DOS PMD-32 jednoduchým spôsobom zapnete PMD-32, vložíte systémová disketu do mechaniky A a príkazom jazyka BASIC-G ROMx sa vám zavedie DOS PMD-32. e) Po zavedení operačného systému DOS PMD-32 do pamäti mikropočítača sa vám tento prihlási výpisom: DOS PMD-32 V2»0 A> 3. Základné príkazy pre prácu disketovou jednotkou PMD-32 DIR - výpis zoznamu súborov uložených na vloženej diskete ERA - vymazanie špecifikovaného súboru SAVE - uloženie obsahu pamäti od adresy 0100H na disketu STOR - uloženie súboru vytvoreného pod prg. jazykom BASIC-G na disketu


OCR České dokumentace k PMD-32

  1. Všeobecně


    1. Použití
    2. Disketová paměť PMD - 32 je určená pro sběr a ukládání dat a pro práci se soubory dat. Je vhodná především pro počítače typu PMD 83 - 3. Je však připojitelná i k jiným počítačům, které mají paralelní obousměrný kanál (GPIO).

    3. Základní pokyny pro používání disket
    4. Vzhledem k tomu, že magnetické diskety jsou moderní vysoko-kapacitní magnetické medium je nutné při jejich používání dodržovat určité zásady:

      • diskety chráníme před mechanickým poškozením, neboť data na takové disketě jsou nenávratně ztracena. Nesmi se překládat, dotýkat se magnetického povrchu v otvorech prsty.vystavovat vyšším teplotám a chemickým vlivům.
      • diskety nevystavujeme silným elektrickým a magnetickým polím
      • po použití diskety vždy uchováváme v ochranných obalech a pokud možno v bezprašném prostředí.
      • disketu zasouváme do mechaniky tak, že štítek výrobce je nahoře vpravo a zajistíme pootočením páčky.
      • disketu zasouváme do mechaniky jemně bez zbytečného násilí a také ji opatrně vyjímáme. Nikdy nevyjímáme disketu z mechaniky, pokud je mechanika v činnosti (svítí indikátor výběru na čelní stěně mechaniky). Disketovou paměť také nikdy nevypínáme se zasunutými disketami. V obou případech může dojít k nenapravitelnému poškození uložených dat.
      • u disket s obzvláště důležitými daty si pořídíme vždy kopii, kterou pravidelně aktualizujeme. Předejdeme tak nepříjemnému překvapeni, když zjistíme, že data na disketě nejsou čitelná.

      Při dodržováni uvedených zásad plně oceníme přínos použití disketové paměti při práci s počítačem a její poměrně vysokou spolehlivost s porovnáním s magnetickou kazetovou pamětí.

    5. Připojeni disketové paměti PMD - 32 k jiným typům počítačů.
    6. Jak již bylo uvedeno v odst. 1.1 je PMD - 32 určena především pro počítače PMD 85-3. Připojeni k dalším typům počítačů, které mají obousměrný paralelní kanál je v podstatě otázkou pouze programového vybavení. Podle zájmu uživatelů bude výrobce dodávat programové vybavení pro připojení dalších typů počítačů. Proto Vám doporučujeme v tomto případě konzultaci s výrobcem. V současné době je již vyřešeno připojení k typu PMD 83 - 2A.



  2. Popis výrobku

    1. Základní technické údaje

    2. Počet disketových mechanik2 ks
      Naformátovaná kapacita diskety   360 kB
      Způsob záznamuoboustranný, MFM
      Rychlost přenosu čtení 7 kB/s
      zápis 6 kB/s
      Počet stop2 x 40
      Počet sektorů na stopě9
      Délka sektoru512 B
      Typ stykuparalelní, obousměrný GPIO
      Napáječi napětí220 V 50 Hz +10 %. -15%
      Celkový odběr max.0.2 A
      Rozměry460 x 320 x 105 mm
      Hmotnost8 kg


    3. Technický popis výrobku
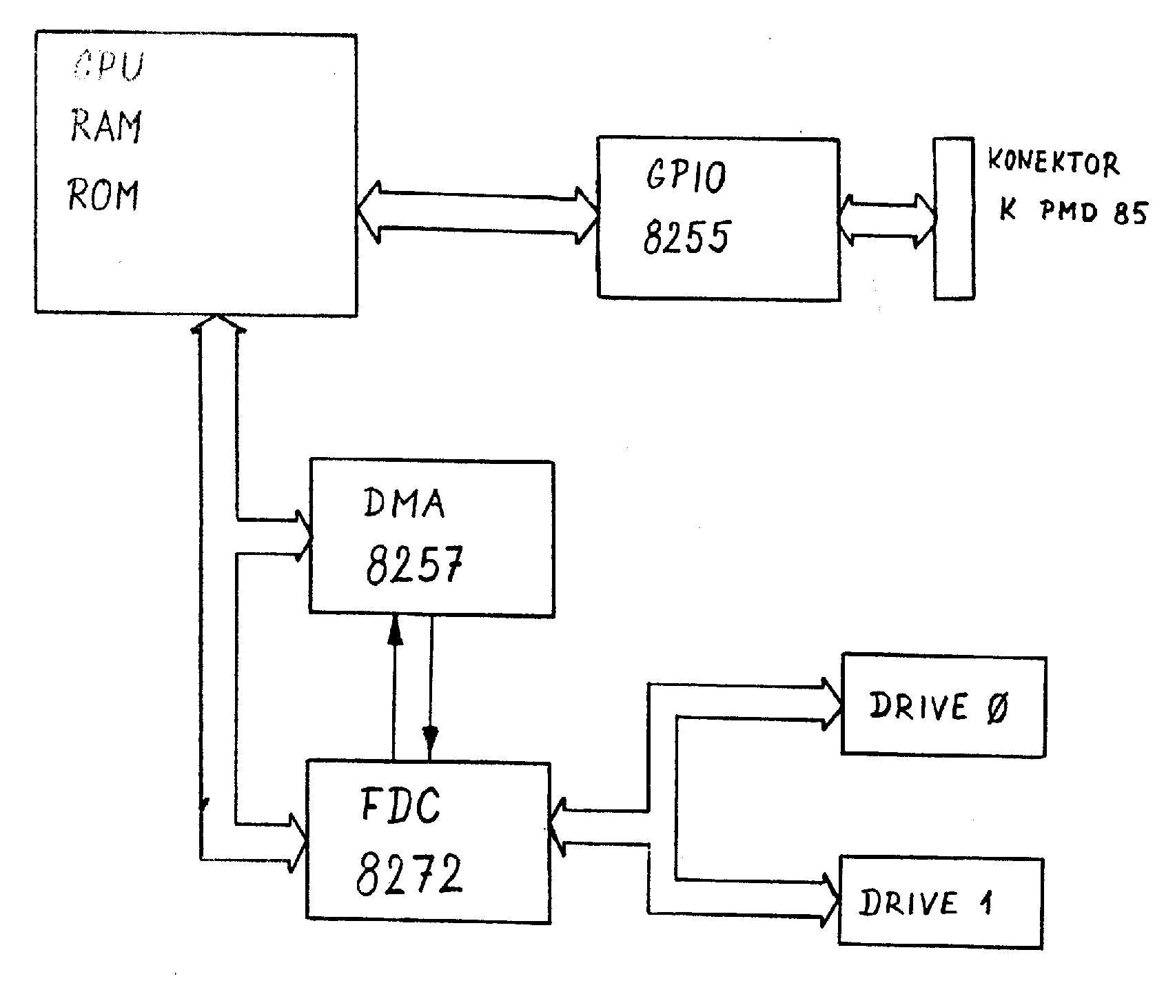
    4. Disketová paměti PMD - 32 je řízena mikroprocesorem 8080 A s podpůrnými obvody a řadičem mechaniky pružných disků I 8272. Blokové schéma disketové paměti je na obr. 1. Základní operační systém v rozsahu 2 kB je uložený v paměti EPROM typu 2716.Pamět RWM v rozsahu 1 kB je osazena 2 ks obvodů 2114 a slouží jako operační paměť mikroprocesoru a jako vyrovnávací paměť pro přenos dat z disketové jednotky do uživatelského mikropočítače. Radič I 8272 zabezpečuje provádění základních diskových služeb - čteni, zápis a formátováni a pracuje v režimu DMA v součinnosti s řadičem DMA 82S7. Komunikace disketové paměti s uživatelským počítačem je přes paralelní styk. realizovaný obvodem 8255 A.

      Jako napájecí část je použit impulzní zdroj pracující jako jednočinný blokující měnič s konstantním kmitočtem a řízením šířky impulzů. Jako řídící obvod je použit IO B 260 D. Zdroj je chráněn sítovou pojistkou F 2.5 A/1500 A.

      Disketová paměť je propojena s počítačem PMD 85-3 (konektor K3) pomocí propojovacího kabelu, který je součásti dodávky.

      Obr.1 Blokové schéma disketové paměti PMD - 32



  3. Uvedeni přístroje do chodu

    1. Základní propojeni s uživatelským počítačem
    2. Propojení s uživatelským počítačem je provedeno kabelem, na jehož jednom konci je konektor typu FRB 20 pinů (strana do PMD 85-3) a na druhém konektor FRB 30 pinů (konektor disketové paměti).U počítače zasuneme konektor do pozice K 3 podle obr.2. Při zasouváni konektoru musíme dát pozor na jeho orientaci - zasouváme jej štítkem nahoru. Při propojováni počítače a paměti musí být počítač i disketová paměť vypnuty.

      Obr. 2 Připojení propojovacího kabelu do PMD 85-3



      Do disketové mechaniky pak zastrčíme konektor FRB 30 pinů. Celková sestava pro práci s PMD 85-3 pak kromě vlastního počítače obsahuje zdroj PMD - 10. monitor PMD - 60 (popř. televizní přijímač) a disketovou paměť PMD - 32 a je na obr. 3.

      Obr.3. Sestava pro práci s disketovou paměti PMD - 32





Schémata zapojení


Schéma PMD-32 a černobílá verze ZDE.




Schéma pomocné desky reset tlačítka pro PMD-32 a černobílá verze ZDE.




Schéma pomocné desky reset INTERFACE pro PMD-32 a černobílá verze ZDE.



Rozmístění součástek


Výkres osazeni




Výkres osazeni




Výkres osazeni



Trochu technického porna




Obsah:





ÚVOD | Novinky | 8 Bitů | Příslušenství | Drobnosti | TTL | Kontakt


SAPI-1 | ONDRA | PMI-80 | PMD-85 | klony PMD-85 | klony SM50/40 | PETR | PLAN-80A | IQ151 | TNS | FK-1 | HVĚZDA | SP 830 | PCS 1-QR6000 | TEMS


Mikropočítač PMD-85 | Příslušenství k PMD-85


8 bity / PMD-85 / Příslušenství k PMD-85 / PMD-32



SAPI.cz - web o československých osmibitech, zejména SAPI-1. Provozuje EC1045 od roku 2011
Za korekce češtiny dekuji: MELSOFTovi, Silliconovi, Martinu Lukáškovi a NOSTALCOMPovi

Když začínám blbnout z 8bitů tak se chodím léčit mezi otaku.
Animefest.cz