ÚVOD | Novinky | 8 Bitů | Příslušenství | Drobnosti | TTL | Kontakt


SAPI-1 | ONDRA | PMI-80 | PMD-85 | klony PMD-85 | klony SM50/40 | PETR | PLAN-80A | IQ151 | TNS | FK-1 | HVĚZDA | SP 830 | PCS 1-QR6000 | TEMS


ZPS | Technické prostředky | Programové vybavení | Dokumentace


8 bity / SAPI-1 / Technické prostředky / Z-154




Z-154



OCR návodu Z-154

TESLA
ELTOS
STÁTNÍ
PODNIK
DIZ

SAPI-1


APLIKAČNÍ PŘÍRUČKA











Z-150







Obsah:

  1. Úvod
  2. Technické parametry
  3. Instalace
  4. Popis funkce
  5. Programování
  6. Testování
  7. Údržba
  8. Všeobecné údaje
  9. Bezpečnostní požadavek
  10. Z-154 zapojení X1
  11. Z-154 zapojení X2
  12. Z-154 zapojení X3
  13. Vývojový diagram
  14. Adresní pole jednotky Z-154
  15. Volba přenosové rychlosti
  16. Rozpiska součástí Z-154
  17. Rozložení součástek Z-154

Přílohy:

  1. Schéma Z-141


  1. Úvod
  2. Jednotka Z-154 "Komunikace QASAD" je součástí mikropočítačového systému CHP 3000.Systém byl vyvinut v Chemoprojektu, odštěpném závodě Praha 9 - Satalice.

    Účelem aplikační příručky je poskytnout uživateli základní informace pro instalaci a použití jednotky Z-154.



  3. Technické parametry
  4. Napájeni jednotky:+5V +-0,25V
    Odběr proudu:+5V 900 mA
    Rozměr desky:140 x 150x 15 mm
    Hmotnost:145 g
    Počet integrovaných obvodů:   23
    Počet modulů:1
    Počet komunikačních linek:4
    Přenosová rychlost:volitelná v rozsahu 50Bd až 9600Bd
    Počet vstupů:12
    DI 0 až 3
    DSR 0 až 3
    CTS 0 až 3
    Počet výstupů:20
    INT Rx 0 až 3
    INT Tx 0 až 3
    DO 0 až 3
    DTR 0 až 3
    RTS 0 až 3



  5. Instalace
  6. Před instalací jednotku Z-154 zkontrolujeme, zda nedošlo během přepravy nebo skladováni k mechanickému poškození desky nebo konektorů.

    Jednotka "Komunikace QASAD" Z-154 je připojena na sběrnici typu ARB-1 nebo IOB-1 systému CHP 3000 prostřednictvím konektoru X1.

    Po zasunutí jednotky Z-154 do vany a připojení na sběrnici kontrolujeme, zda nedošlo k nedovolenému zatížení sběrnice.



  7. Popis funkce
  8. Jednotka Z-154 "Komunikace QASAD" obsahuje 4 komunikační obvody, které umožňuji systému CHP 3000 obousměrný sériový asynchronní přenos dat do 4 na sobě nezávislých směrů (technických prostředků).

    Jednotku Z-154 je možno připojit na sběrnici ARB-1 nebo IOB-1. Integrované obvody IO1, IO2, IO3 (MH 3205) dekódují adresu jednotky. Vývody /0 až /7 integrovaného obvodu IO1 jsou vyvedeny na přepojovací pole I. Na přepojp-T, vací pole II jsou vyvedeny vývody /0 až /F integrovaných obvodů 102 a 103. Pomocí propojek I a II lze zvolit (podle tabulky adres) libovolnou dvojici adres z celého I/O adresní ho prostoru. Propojkami IIa až IIe lze zvolit, 5 dvojic adres. Propojky IIa až IId jsou určeny pro adresy jednotlivých komunikačních obvodů jednotky, propojka IIe určuje adresu klopného obvodu IO18 (MH 3212) určeného pro maskováni přerušení od jednotlivých komunikačních obvodů.

    Jednotky samostatně dodávané mají standardně zapojeny 5 dvojic adres v prostoru 0A0H - 0A9H.

    Datová část sběrnice (ARB-1, IOB-1) je impedančně oddělena integrovanými obvody IO4 a IO5 (MH 3216). Signály fi2, /IOW, /IOR jsou zavedeny do jednotky přímo, signál /RES je oddělen obvodem IO7 (MH 7404).

    Jednotka obsahuje 4 shodné komunikační obvody IO8,IO9, IO10, IO11 (MHB 8251). Každý z těchto obvodů má odděleně vyvedené vstupy pro hodinovou frekvenci přijímače a vysílače na přepojovací pole. To umožňuje zvolit libovolnou doporučenou přenosovou rychlost v rozsahu 50Bd až 9600Bd.

    Přijímač a vysilač jednoho obvodu MHB 8251 může mít zapojeny rozdílné frekvence pro přijímač a vysílač. Přepojovací pole je tvořeno body : I až VIII a R0, T0 až R3, T3, kde body I až VII jsou výstupy děliče frekvence a body R0, T0 až R2, T3 jsou vstupy jednotlivých komunikačních obvodů podle následující tabulky:

    IO8R0přijímače
    T0vstupvysilače
    IO9R1hodinovépřijímače
    T1frekvence   vysílače
    IO10   R2přijímače
    T2vysílače
    IO11R3   přijímače
    T3vysílače

    Vstupy Rx,Tx mohou být připojeny na kterýkoliv z vývodů děličky frekvence I až VII.

    Dělíčka frekvence je napájena frekvencí 12,288 MHz z krystalem řízeného oscilátoru IO23 (R2-R3-C11-C12) a osazena čítači IO19, IO20, IO21 (MH 7493) a IO22 (MH 7490). Výstupy děličky frekvence umožňují volbu přenosové rychlosti v rozmezí 50Bd až 9600Bd. Základní frekvence je dána vývody děličky I až VIII. Programem režimu činnosti jednotlivých komunikačních obvodů MHB 8251 určujeme výslednou přenosovou rychlost, která je 16ti nebo 64ti násobkem základní-frekvence. Způsob volby přenosové rychlosti jednotlivých přijímačů a vysilačů je zřejmý z následujících tabulek A, B, C.

    Tab.A:

    Výstup
    dělíčky   
    naprogram.   
    násobek
    přenosová
    rychlost v Bd
    I169600
    642400
    II164800
    641200
    III162400
    64600
    IV161200
    64300
    V16600
    64150
    VI16300
    6475

    Spojí-li se výstupy děličky V-VIII, pak připojením libovolného vstupu Rx, Tx do výstupu VII volíme jejich přenosovou rychlost:

    Tab.B:

    Výstup
    dělíčky   
    naprogram.   
    násobek
    přenosová
    rychlost v Bd
    VII16200
    6450

    Spojí-li se výstupy děličky VI-VIII, pak připojením vstupu Rx, Tx do výstupu VII volíme jejich přenosovou rychlost:

    Tab.C:

    Výstup
    dělíčky   
    naprogram.   
    násobek
    přenosová
    rychlost v Bd
    VII16100

    Jednotky Z-154 jsou z výroby nastaveny s přerušením Tx RDY a přenosovou rychlostí 600Bd.

    Výstupy jednotlivých komunikačních obvodů - vysílaná data, /DTR, /RTS - jsou impedančně odděleny obvody UCY7408 a jsou vyvedeny na konektory jednotky X2 a X3.

    Signály Rx RDY, Tx RDY, Tx E jsou přivedeny na součinový obvod tvořený hradlem typu MH 7403. Součin výstupního maskovacího obvodu podmiňuje přerušovací úroveň vznikající s přijetím platných dat příslušným obvodem MHB 8251. Součin výstupní úrovně příslušného maskovacího obvodu s výstupem Tx E nebo Tx RDY (zvolíme propojkou) tvoří přerušovací úroveň indikující buď prázdný datový registr vysílače (propojka na Tx E) nebo schopnost vysílače přijmout znak mikroprocesoru (propojka na Tx RDY).

    Vstupy pro přijímaná data a signály /DSR a /CTS jsou ošetřeny záchytnou Zenerovou diodou KZ 260/5V1 a vyvedeny na konektory jednotky X2 nebo X3.Umístěni těchto vývodů na konektorech je uvedena v popisu konektorů. Vstupy a výstupy jednotlivých komunikačních obvodů jsou označeny indexy podle následující tabulky:

    obvod   index
    IO 80
    IO 91
    IO 102
    IO 113

    Způsob ovládání maskovacího obvodu je uveden v kapitole 5. programování.

    Poznámka: Jednotka Z-154 potřebuje ke své činnosti ovládací jednotku buď X-44 "Proudové smyčky" - převodník úrovně TTL na úroveň TTY (proudová smyčka 0 až 20 mA) nebo X-52 "Převodník TTL - V.24".



  9. Programování
  10. Jednotlivé komunikační obvody jednotky Z-154 jejichž vývody jsou označeny indexem 0 až 3 jsou přístupny na adresách uvedených v následující tabulce;

    Obvod   Index   Propojky   Adresa obecnáAdresa standardní
    IO-80I, IIaADR+0, ADR+10A0H, 0A1H
    IO-91I, IIbADR+2, ADR+30A2H, 0A3H
    IO-102I, IIcABR+4, ADR+50A4H, 0A5H
    IO-113I, IIdADR+6, ABR+7   0A6H, 0A7H
    IO-18I, IIeADR+80A8H

    Poznámka: Standardní adresy jsou použity u jednotek individuelně dodávaných.


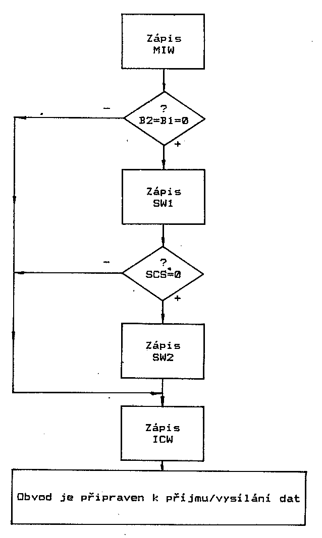
    Programování jednotky Z-154 se skládá z naprogramování režimu činnosti, které musí následovat za signálem RESET a ze zaslání řídícího slova. Programování musí proběhnout v určité posloupnosti. Vývojový diagram inicializační posloupnosti je uveden v odd. inicializace.

    Kombinací řídících signálů při čtení a zápisu do komunikačního obvodu uvádí následující tabulka:

    řídící signályJimi určená činnost
    C+/D   /RD   /WR   /CS   
    0010čtení dat z přijímače
    0100zápis dat do vysílače
    1010čtení stavu
    1100zápis řídícího slova


    Pro programování asynchronního režimu práce se používají tato řídicí slova:

    Řídící slovo MIW:

    D7  D6  D5  D4  D3  D2  D1  D0
    S2  S1  EP  PEN L2  L1  B2  B1
     |   |   |   |   |   |   |   |
     |   |   |   |   |   |   |   |  koeficient baudové rychlosti
     |   |   |   |   |   |   |   +-    0      1      0      1
     |   |   |   |   |   |   +-----    0      0      1      1
     |   |   |   |   |   |          synchr.
     |   |   |   |   |   |          režim     1x    16x    64x
     |   |   |   |   |   |
     |   |   |   |   |   |
     |   |   |   |   |   |          délka znaku
     |   |   |   |   |   +---------    0      1      0      1
     |   |   |   |   +-------------    0      0      1      1
     |   |   |   |
     |   |   |   |                     5      6      7      8
     |   |   |   |                     bitů   bitů   bitů   bitů
     |   |   |   |
     |   |   |   |
     |   |   |   +----------------- řízení parity
     |   |   |                         H = Enable L = Disable
     |   |   |
     |   |   |
     |   |   +--------------------- nastavení (kontrola) parity
     |   |                             H = sudá_L = lichá
     |   |
     |   |
     |   |                          počet stop bitů
     |   +-------------------------    0      1      0      1
     +-----------------------------    0      0      1      1
    
                                    neplat    1     1,5     2
                                    znak      bit   bitu    bity
    

    řídící slovo IOW:

    D7  D6  D5  D4  D3  D2	D1  D0
    EH  IR	RTS ER SBRK RxE	DTR TxEN
     |   |   |   |   |   |   |   |
     |   |   |   |   |   |   |   +- ovládání vysilače dat
     |   |   |   |   |   |   |         H = Enable    L = Disable
     |   |   |   |   |   |   |
     |   |   |   |   |   |   |
     |   |   |   |   |   |   +----- Koncové zařízení připravena
     |   |   |   |   |   |             H nastavuje výstup DTR na L
     |   |   |   |   |   |
     |   |   |   |   |   |
     |   |   |   |   |   +--------- Ovládání přepínače dat
     |   |   |   |   |                 H = Enable     L = Disable
     |   |   |   |   |
     |   |   |   |   |
     |   |   |   |   +------------- Vysíláni "BREAK" znaku
     |   |   |   |                     H = TxD se nastaví do L
     |   |   |   |                     L = normální činnost
     |   |   |   |
     |   |   |   |
     |   |   |   +----------------- Nulování chyb
     |   |   |                         H nuluje všechny chybové
     |   |   |                         příznaky PE, OE, FE
     |   |   |
     |   |   |
     |   |   +--------------------- Požadavek na vysílání
     |   |                             H nastaví výstup RTS na L
     |   |
     |   |
     |   +------------------------- Vnitřní nulování
     |                                 H vrátí 8251 do formátu
     |                                 CW povelu
     |
     |
     +----------------------------- Druh provozu "vyhledávání"
                                       H umožňuje vyhledávání
                                       znaku SYNC
    

    Při činnosti obvodu 8251 může být pro zahájení přenosu dat využíváno jednak signálů RxRDY, TxRDY a to pomocí obvodů pro zpracováni přerušení nebo cyklického programového čtení stavového slova které má tvar:

    D7  D6  D5  D4  D3  D2  D1  D0
    DSR SYN	FE  DE  PE  Tx  Rx  Tx
    DSR DET	           EMPT RDY RDY
     |   |   |   |   |   |   |   |
     |   |   |   |   |   |   |   +- H = vysílač je schopen
     |   |   |   |   |   |   |          přijmout znak z
     |   |   |   |   |   |   |          mikroprocesoru
     |   |   |   |   |   |   |
     |   |   |   |   |   |   |
     |   |   |   |   |   |   +----- H = obvod přijal znak a může
     |   |   |   |   |   |              jej předat
     |   |   |   |   |   |              mikroprocesoru
     |   |   |   |   |   |
     |   |   |   |   |   |
     |   |   |   |   |   +--------- H = indikuje prázdný registr
     |   |   |   |   |                  vysilače
     |   |   |   |   |
     |   |   |   |   |
     |   |   |   |   +------------- H = indikuje chybu parity
     |   |   |   |                       Bit je nulován bitem ER
     |   |   |   |                       řídicího slova ICW
     |   |   |   |
     |   |   |   |
     |   |   |   +----------------- H = mikroprocesor nestihl
     |   |   |                          přečíst přijatý znak a
     |   |   |                          ten je přepsán znakem
     |   |   |                          přijatým po něm.
     |   |   |                          Bit je nulován bitem ER
     |   |   |                          řídícího slova ICW.
     |   |   |
     |   |   |
     |   |   +--------------------- H = indikuje chybu parity.
     |   |                              Bit je nulován bitem ER
     |   |                              řídícího slova ICW
     |   |
     |   |
     |   +------------------------- H = detekuje přerušení linky
     |
     |
     +----------------------------- H = indikuje, že vstup DSR
                                        je na úrovni L
    

    řídící slovo pro zápis maskování přerušeni se vysílá na OUT ADR+8. Obsah datové části je následující:

    D7  D6  D5  D4  D3  D2  D1  D0          Rx ... přijímač
    Tx3 Rx3 Tx2 Rx2 Tx1 Rx1 Tx0 Rx0         Tx ... vysilač
     |   |   |   |   |   |   |   |
     |   |   |   |   |   |   |   +- L = maskování přerušení
     |   |   |   |   |   |   |   +- H = přerušení povoleno
     |   |   |   |   |   |   |
     |   |   |   |   |   |   |
     |   |   |   |   |   |   +----- L = maskování přerušení
     |   |   |   |   |   |   +----- H = přerušení povoleno
     |   |   |   |   |   |
     |   |   |   |   |   |
     |   |   |   |   |   +--------- L = maskování přerušení
     |   |   |   |   |   +--------- H = přerušení povoleno
     |   |   |   |   |
     |   |   |   |   |
     |   |   |   |   +------------- L = maskování přerušení
     |   |   |   |   +------------- H = přerušení povoleno
     |   |   |   |
     |   |   |   |
     |   |   |   +----------------- L = maskování přerušení
     |   |   |   +----------------- H = přerušení povoleno
     |   |   |
     |   |   |
     |   |   +--------------------- L = maskování přerušení
     |   |   +--------------------- H = přerušení povoleno
     |   |
     |   |
     |   +------------------------- L = maskování přerušení
     |   +------------------------- H = přerušení povoleno
     |
     |
     +----------------------------- L = maskování přerušení
     +----------------------------- H = přerušení povoleno
    

    Jednotka přerušuje na individuálním vodiči.



  11. Testování
  12. Jednotka Z-154 je ve výrobním závodě testována pomoci testovacího programu TES154.



  13. Údržba
  14. Údržba desky spočívá v udržování kontaktů FRB konektorů. Tyto kontakty je nutno chránit před znečištěním a mechanickým poškozením, aby byla zajištěna spolehlivá funkce systému. Před každým zasunutím desky do sběrnice je nutno zkontrolovat, zda nejsou špičky konektoru ohnuty, aby nedošlo k jejich ulomení. Servis desky zajišťuje dodavatel systému TESLA DlZ prostřednictvím servisních středisek. V případě odeslání desky do opravy je nutno ji zabalit do původního přepravního obalu.



  15. Všeobecné údaje
  16. Pracovní podmínky:teplota okolí...+5°C až +40°C
    relat. vlhkost...40 – 80%. při 30°C
    prostředí...neklimatizované,
    bez agresivních plynů a par
    atmosfér.tlak...84 - 107 kPa
    prašnost...max. 1mg/m3
    částice max. 10 µm
    vibrace-odolnost..0.1 mm při 25 Hz

    Krytí dle ČSN 33 0330 je IP 00.

    Deska je napájena ze zdroje, který odpovídá ČSN 36 9060.

    Kvalifikace obsluhy a údržby - pracovník poučený dle § 4 vyhlášky 50/78Sb.

    Skladování: skladovací prostor musí být suchý, dobře větraný bez mechanických otřesů a chemických vlivů, skladovací teplota musí být v rozmezí -5 až +35°C a relativní vlhkost max. 75%, výrobky musí být skladovány v neporušeném obalu, při vybalování systému (zvláště v zimním období) je nutné ponechat výrobek v přepravním obalu 4-5 hodin v pracovních podmínkách, aby nedošlo k orosení desek.

    Záruka: dodavatel ručí za jakost výrobku po dobu 6 měsíců ode dne splnění dodávky za předpokladu, že deska nebyla mechanicky poškozena hrubým, nebo neodborným zásahem.



  17. Bezpečnostní požadavek
  18. Všechna zařízení a přístroje připojené na vstupy a výstupy jednotky Z-154 musí splňovat požadavek ochrany zvýšenou isolací podle normy ČSN 36 9060 na min. 2,5 kV.



  19. Z-154 zapojení X1
  20. číslo konektoru:X1konektor:TY 517 6211
    deska:Z-154   klíčování:C6
    číslosignál   názevtyp
    (PIN)   
    1
    2
    3
    4
    5
    6
    7
    8/RESresetINP
    9
    10/IORčtení dat z adresovaného vstupuINP
    11
    12/IOWzápis dat na adresovaný výstupINP
    13
    14
    15+5VnapájeníNAP
    16+5VnapájeníNAP
    17+5VnapájeníNAP
    18+5VnapájeníNAP
    190VzemNAP
    200VzemNAP
    21
    22
    24
    25
    26
    27
    28
    29
    30
    31D4dataBD
    32D3dataBD
    33D6dataBD
    34D5dataBD
    35D2dataBD
    36D7dataBD
    37D0dataBD
    38D1dataBD
    39A1adresaINP
    40A0adresaINP
    41A3adresaINP
    42A2adresaINP
    43A5adresaINP
    44A4adresaINP
    45A7adresaINP
    46A6adresaINP
    47
    48
    49
    50
    51
    52
    530VzemNAP
    540VzemNAP
    55
    56
    57
    58
    59
    60fi2hodiny TTLINP
    61
    62

    INPvstupní
    BDobousměrný
    OUT   výstupní
    NAPnapájení



  21. Z-154 zapojení X2
  22. číslo konektoru:X2konektor:TY 513 3011
    deska:Z-154   klíčování:C4
    číslosignál   názevtyp
    (PIN)   
    1/DSR2Data Set ReadyINP
    2/INTRx2přerušeniOUT
    3D02dataOUT
    4/INTTx2přerušeníOUT
    5/CTS2Clear SendINP
    6DI3dataINP
    7/RTS2Request to SendOUT
    8/INTTx3   přerušeníOUT
    9/DTR2Data Terminal Ready   OUT
    10/INTRx3přerušeniOUT
    11DI2dataINP
    12/DTR3Data Terminal ReadyOUT
    13
    14/RTS3Request to SendOUT
    150Vsignálová zemNAP
    16/DSR3Data Set ReadyINP
    170Vsignálová zemNAP
    ISD03dataOUT
    190Vsignálová zemNAP
    20/CTS3Clear to SendINP
    210Vsignálová zemNAP
    22
    230Vsignálová zemNAP
    24
    250Vsignálová zemNAP
    26
    270Vsignálová zemNAP
    28
    290Vsignálová zemNAP
    30

    INPvstupní
    BDobousměrný
    OUT   výstupní
    NAPnapájení



  23. Z-154 zapojení X3
  24. číslo konektoru:X3konektor:TY 513 3011
    deska:Z-154   klíčování:D4
    číslosignál   názevtyp
    (PIN)   
    1/DSR0Data Set ReadyINP
    2/INTRX0   přerušeníOUT
    3DO0dataOUT
    4/INTTx0přerušeníOUT
    5/CTS0Clear to SendINP
    6DI1dataINP
    7/RTS0Request to SendOUT
    8/INTTx1přerušeníOUT
    9/DTR0Data Terminal ReadOUT
    10/INTRx1přerušeníOUT
    11DT0dataINP
    12/DTR1Data Terminal Read   OUT
    13
    14/RTS1Request to SendOUT
    150Vsignálová zemNAP
    16/DSR1Data Set ReadyINP
    170Vsignálová zemNAP
    18D01dataOUT
    190Vsignálová zemNAP
    20/CTS1Clear to SendINP
    210Vsignálová zemNAP
    22
    230Vsignálová zemNAP
    24
    250Vsignálová zemNAP
    26
    270Vsignálová zemNAP
    28
    290Vsignálová zemNAP
    30

    INPvstupní
    BDobousměrný
    OUT   výstupní
    NAPnapájení



  25. Vývojový diagram
  26. Vývojový diagram inicializační posloupnosti Z-154.



  27. Adresní pole jednotky Z-154
  28. Poznámka: Znázorněno je standardní zapojeni jednotek Z-154 vyrobených v CHP o.z. a samostatně dodávaných, které jsou adresovány v prostoru 0A0H až 0A9H.

    I.II.
    0123456789ABCDEF
    000 0102 0304 0506 0708 090A 0B0C 0D0E 0F10 1112 1314 1516 1718 191A 1B1C 1D1E 1F
    120 2122 2324 2526 2728 292A 2B2C 2D2E 2F30 3132 3334 3536 3738 393A 3B3C 3D3E 3F
    240 4142 4344 4546 4748 494A 4B4C 4D4E 4F50 5152 5354 5556 5758 595A 5B5C 5D5E 5F
    360 6162 6364 6566 6768 696A 6B6C 6D6E 6F70 7172 7374 7576 7778 797A 7B7C 7D7E 7F
    480 8182 8384 8586 8788 898A 8B8C 8D8E 8F90 9192 9394 9596 9798 999A 9B9C 9D9E 9F
    5A0 A1A2 A3A4 A5A6 A7A8 A9AA ABAC ADAE AFB0 B1B2 B3B4 B5B6 B7B8 B9BA BBBC BDBE BF
    6   C0 C1   C2 C3   C4 C5   C6 C7   C8 C9   CA CB   CC CD   CE CF   D0 D1   D2 D3   D4 D5   D6 D7   D8 D9   DA DB   DC DD   DE DF
    7E0 E1E2 E3E4 E5E6 E7E8 E9EA EBEC EDEE FFF0 F1F2 F3F4 F5F6 F7F8 F9FA FBFC FDFE FF



  29. Volba přenosové rychlosti
  30. Poznámka: Znázorněno je standardní zapojení jednotek Z-154 vyrobených v CHP o.z. a samostatně dodávaných, mají přenosovou rychlost 600Bd.



  31. Rozpiska součástí
  32. SoučástkaPozice
    OdporTR 1911K0R1
    1K2R2,R3
     
    KondenzátorTE 13147MC1
    TK 782M1C2-C10
    TC 210100JC11
    TC 210dle potř.   C* nastav.
     
    I.O.MH 3205IO1-IO3
    MH 3216IO4,IO5
    UCY 7417IO6
    MH 7404IO7
    MHB 8251IO8-IO11
    MH 7408IO12,IO14,IO15,IO17
    MH 3212IO18
    MH 7493IO19-IO21
    MH 7490IO22
    MH 74S00IO23
     
    DiodaKZ 260/5V1D1-D12
     
    Konektor FRB   TY 517 62 11X1
    TY 513 30 41X2,X3
     
    SpojkaWA 692 06X2,X3
     
    Krystal12.288MHzKR1



  33. Rozložení součástek Z-154

  34. DPS Z-154



Popis a vyobrazení v této příručce jsou nezávazné a výrobní závod si vyhrazuje právo v duchu technického rozvoje a v zájmu uživatelů přístrojů provádět změny sloužící zlepšeni funkce a spolehlivosti přístrojů. Z toho důvodu se nemusí všechny údaje v textu a všechna vyobrazení shodovat s dodaným přístrojem.



Vývoj:

CHEMOPROJEKT O.Z. PRAHA 9 - SATALICE


Výroba:

JZD BUDOUCNOST Blatnice


Dodavatel:

TESLA-ELTOS-DIZ

poštovní schránka 27

pošta 45

145 00 Praha 4



Přílohy:



  1. Schéma Z-154

  2. Schéma Z-154 a černobílá verze ZDE.





    Obsah:

    1. Úvod
    2. Technické parametry
    3. Instalace
    4. Popis funkce
    5. Programování
    6. Testování
    7. Údržba
    8. Všeobecné údaje
    9. Bezpečnostní požadavek
    10. Z-154 zapojení X1
    11. Z-154 zapojení X2
    12. Z-154 zapojení X3
    13. Vývojový diagram
    14. Adresní pole jednotky Z-154
    15. Volba přenosové rychlosti
    16. Rozpiska součástí Z-154
    17. Rozložení součástek Z-154

    Přílohy:

    1. Schéma Z-141




ÚVOD | Novinky | 8 Bitů | Příslušenství | Drobnosti | TTL | Kontakt


SAPI-1 | ONDRA | PMI-80 | PMD-85 | klony PMD-85 | klony SM50/40 | PETR | PLAN-80A | IQ151 | TNS | FK-1 | HVĚZDA | SP 830 | PCS 1-QR6000 | TEMS


ZPS | Technické prostředky | Programové vybavení | Dokumentace


8 bity / SAPI-1 / Technické prostředky / Z-154



SAPI.cz - web o československých osmibitech, zejména SAPI-1. Provozuje EC1045 od roku 2011
Za korekce češtiny dekuji: MELSOFTovi, Silliconovi, Martinu Lukáškovi a NOSTALCOMPovi

Když začínám blbnout z 8bitů tak se chodím léčit mezi otaku.
Animefest.cz