ÚVOD | Novinky | 8 Bitů | Příslušenství | Drobnosti | TTL | Kontakt
SAPI-1 | ONDRA | PMI-80 | PMD-85 | klony PMD-85 | klony SM50/40 | PETR | PLAN-80A | IQ151 | TNS | FK-1 | HVĚZDA | SP 830 | PCS 1-QR6000 | TEMS
ZPS | Technické prostředky | Programové vybavení | Dokumentace
Zdroj ZDR-1A se v průběhu let měnil. Změny se týkali jen přidáním konektoru pro ventilátor (220V) na zadní panel, dvou systémových napájecích konektorů a tlačítka RTL na přední panel. Zdroj ZDR-1A je taktéž popsán v dokumentaci k ZPS-3 (Velikost souboru 50MB)), JPN-1, ZDR-1A a ZDR-1A (1.5).
OCR návodu ZDR-1A
| Název : | Napájecí zdroj ZDR-1A |
| ZDR - 1A | |
| Výroba : | TESLA LIBEREC s. p. |
| Kateřinská ulice 325 | |
| 461 98 LIBEREC | |
| Prodej : | TESLA LIBEREC s. p. |
| a | |
| TESLA ELTOS s. p. | |
| Dodavatelsko inženýrský závod | |
| pošta 45, schránka 27 | |
| 145 00 PRAHA 4 | |
| Servis : | TESLA ELTOS s. p. |
| Dodavatelsko inženýrský závod | |
| Kocínova 136 | |
| 397 01 PÍSEK | |
| Technické podmínky : | TESLA LIBEREC s. p. |
| TPTE 82-251/89 |
Napájecí zdroj ZDR-1A je prvkem mikropočítačového souboru SAPI-1.5. Zajišťuje napájení jednotlivých prvků v sestavách mikropočítače.
| Napáječi napěti | 220 V +10-15 % |
| Příkon | 240 VA max. |
| Jištění zdroje (přívod 220 V) | trubičková pojistková |
| vložka T 1,25/35 A | |
| Výstupní napětí | + 5 V , - 5 V |
| +12 V , -12 V | |
| +15 V , -15 V | |
| Tolerance výstupních napětí | ± 5 % |
| Zvlnění výstupních napětí | 100 mV š -š max. |
| Povolený odběr | + 5 V 8 A |
| - 5 V 0,8 A | |
| +12 V 2 A * | |
| -12 V 0,5 A | |
| + 15 V 0,5 A | |
| -15 V 0,5 A | |
| Zvláštní výstupy | výstup usměrňovače |
| signalizace výpadku | |
| signál RESET | |
| Napájení ventilátoru | zásuvka 220V |
| Jištění ventilátoru | trubičková pojistková |
| vložka F 160/35 A | |
| Signalizace zapnutí | LED na čelním panelu |
* Výstupní hladinu +12 V je možné zatížit proudem 4 A, nepřekročí-li zatížení výstupu +5 V hodnotu 5 A.
Pracovní podmínky :
Odolnost výrobku vůči vlivu klimatických činitelů je označena skupinou 2 podle ČSN 36 9302 čl. 1.3.1 tj. musí zabezpečit provozuschopnost a vnější vzhled pro:
| Rozsah pracovních teplot | +5 až +40 °C |
| Relativní vlhkost vzduchu | 40 až 80 % při 25 °C |
| Atmosférický tlak | 84 až 107 kPa |
| Prostředí | bez agresivních plynů a par |
Bezpečnostní ustanovení :
Připojená zařízení napájená z rozvodné sítě 220V/50Hz musí splňovat ustanovení ČSN 36 9060 (zejména požadavek na izolační pevnost zkoušenou napětím 3,75 kV).
| Krytí: | IP 00 |
Funkční zkoušky:
Odolnost proti vnějším vlivům je dána ČSN 36 9302 takto :
| mráz | článek 2.4 |
| suché teplo | článek 2.5 |
| vlhké teplo | článek 2.6 |
| chvění | článek 2.10 |
Střední doba mezi poruchami:
| prostředí normální +5 °C až +40 °C | 27 000 hodin |
| prostředí klimatizované +15 °C až +30 °C | 60 000 hodin |
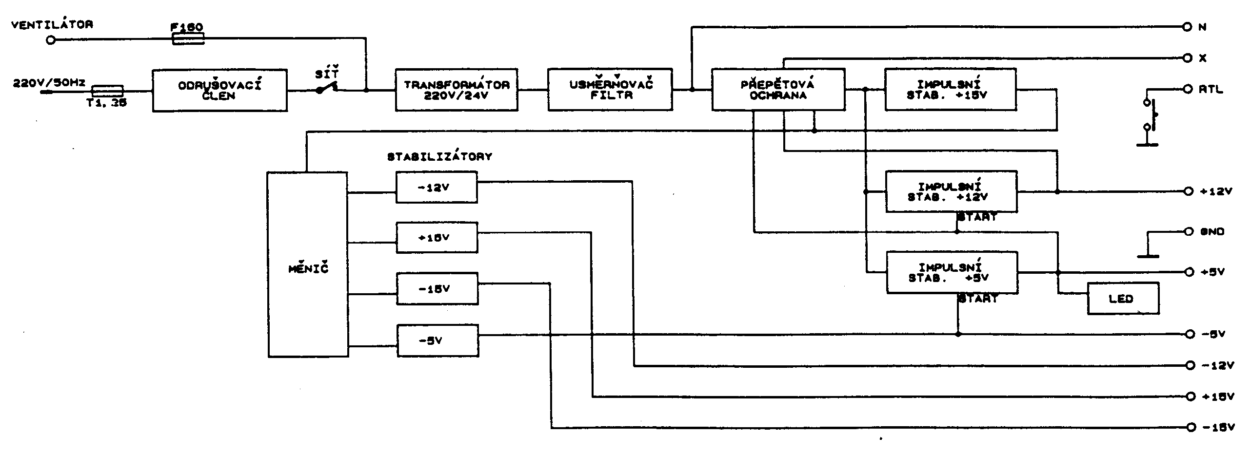
Napájecí zdroj ZDR-1A je určen pro napájení sestav složených z prvků mikropočítačového souboru SAPI-1 a SAPI-1.5 ze sítového rozvodu 220 V. Může být však použit i samostatně pro účely, kde vyhovují jeho technické parametry.
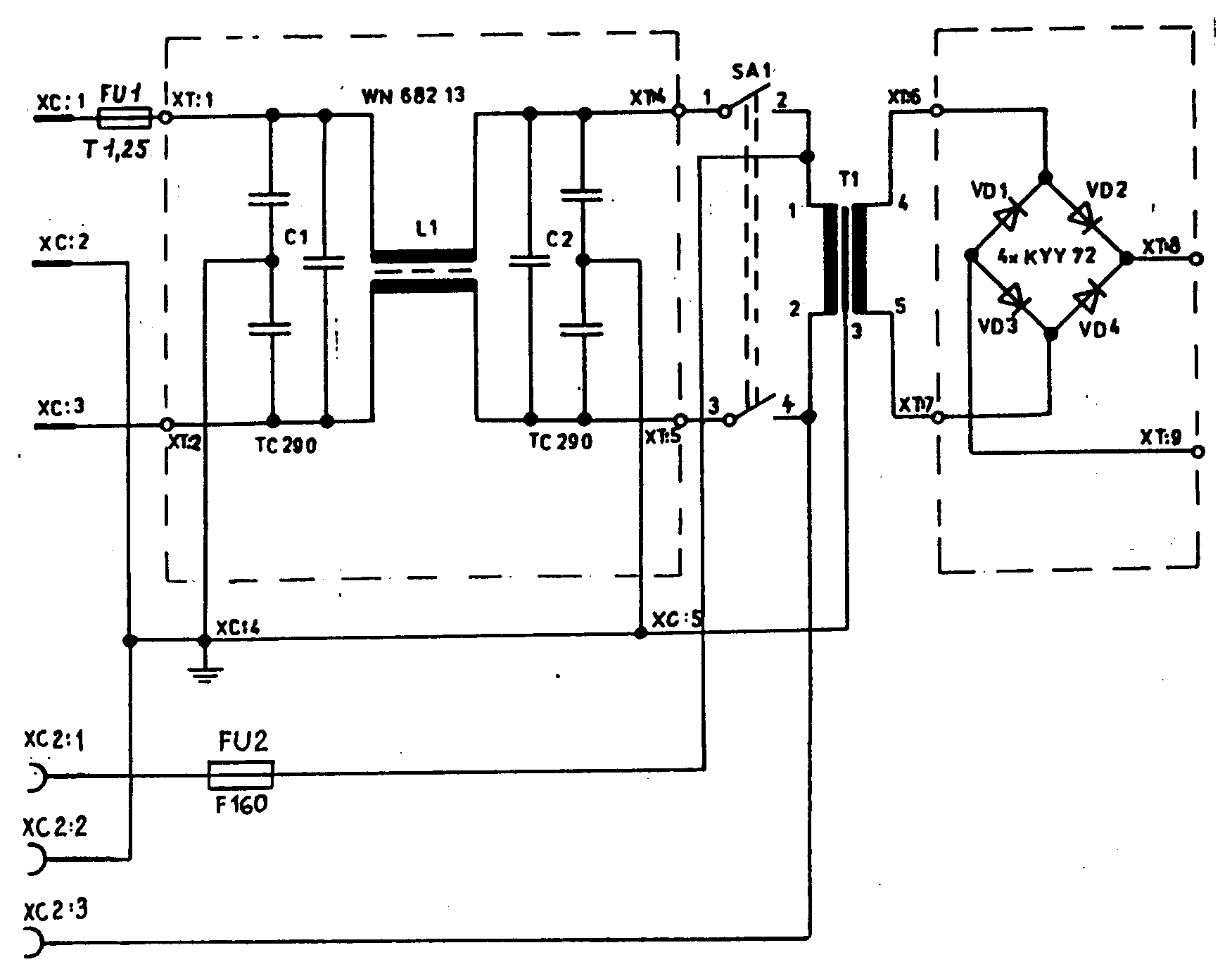
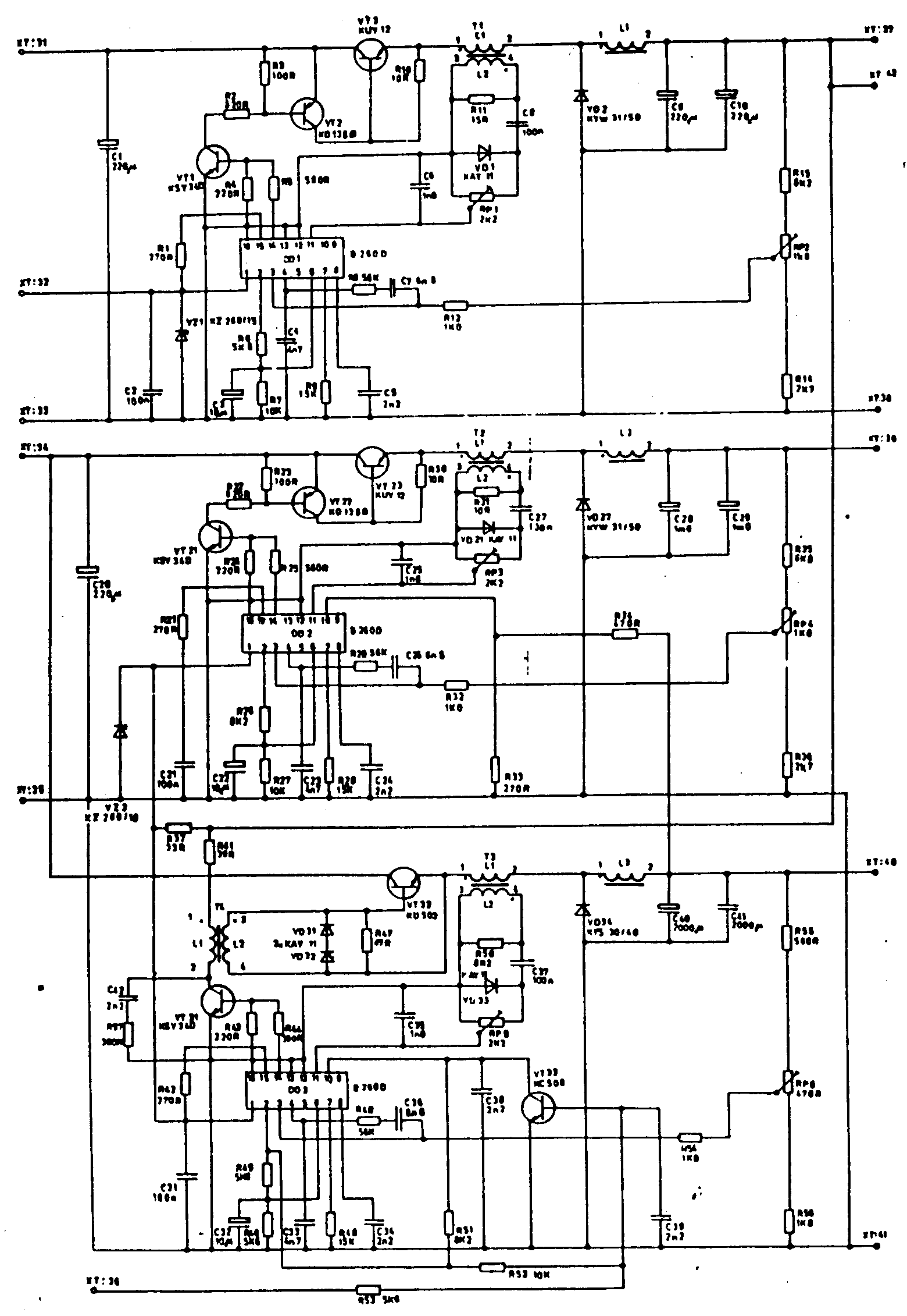
Sítové napětí je převedeno na hodnotu 24 V transformátorem T1, který zároveň zajišťuje bezpečnostní, oddělení sekundárních obvodů od rozvodu 220 V. Sekundární napětí 24 V je usměrněno a filtrováno . Takto upravené napětí se přivádí na spínané stabilizátory výstupních napětí +15 V, +12 V a +5 V. Hladina +15 V nabíhá jako první a napájí měnič s výstupními napětími -5 V, -12 V a ±15 V. Teprve přítomnost napětí -5 V na výstupu odblokuje stabilizátor hladiny +5 V a toto napětí uvolní činnost stabilizátoru +12 V. Spínané stabilizátory jsou řízeny obvody B260D (TDA 1060), výstupní napětí měniče jsou stabilizována třísvorkovými monolitickými stabilizátory řady MA 78xx.
Všechny stabilizátory mají elektronické pojistky pro omezení maximálního výstupního proudu a ochranu proti zkratu. Zdroj obsahuje obvod hlídání výstupních napětí +5 V, +12 V a napájení +15 V pro měnič. Pokud některé z těchto napětí stoupne nad povolenou úroveň, sepne tyristor a zkratuje sekundární napětí +24 V, což způsobí přerušeni pojistky v sítovém přívodu.
Jednotlivá výstupní napětí jsou přivedena na svorkovnici umístěnou na zadní stěně zdroje. Na tuto svorkovnici jsou také vyvedeny tři zvláštní signály :
N - kontrolní výstup stejnosměrného napětí z filtračních kondenzátorů, který slouží pro měřící účely a je na něm napětí v rozmezí 25 - 35 V podle zatížení zdroje.
X - signalizace výpadku zdroje - signál je buzen otevřeným kolektorovým výstupem tranzistoru, který spíná při výpadku napájení. Maximální zatížení této svorky je 30 V / 50 mA.
RTL - inicializace - signál je určen pro ruční inicializaci (RESET) sestav napájených ze zdroje ZDR-1A. Tlačítko, kterým je signál aktivován, je umístěno na čelním panelu zdroje. Po jeho stlačení se na svorce objeví úroveň log. 0.
Na zadní stěně zdroje je umístěna zásuvka sloužící pro napájení ventilátoru sestavy. Na tuto zásuvku je přivedeno sítové napětí 220 V přes samostatnou pojistku. Zásuvka je spínána společně s napájecím zdrojem, sítovým vypínačem.
Na čelním panelu zdroje jsou kromě sítového vypínače umístěny i : signalizační dioda LED, která indikuje zapnutí zdroje; panelové vidlice, na jejichž kontaktech jsou vyvedeny napájecí napětí +5 V, +12 V a signál RESET. LED je buzena z výstupního napětí +5 V. Panelové vidlice slouží k napájení přídavných zařízení.
Kostra zdroje je tvořena čelním a zadním panelem spojenými příčnými nosníky. Kryt zdroje je na horní a dolní straně perforován větracími otvory.
Jednotlivé funkční bloky zdroje jsou upevněny na příčných nosníkách. Jsou to :
sítový odrušovací filtr
sítový transformátor
deska filtru a přepěťové ochrany
deska stabilizátorů
deska měniče
Usměrňovač sekundárního napětí 24 V a výkonové tranzistory jsou umístěny na chladiči, který je připevněn k zadnímu panelu zdroje.
Pouzdra pro tavné trubičkové pojistky jsou na zadním panelu zdroje, spolu s přívodní vidlicí a zásuvkou pro napájení ventilátoru.
Upevnění zdroje do rámu napájené sestavy se provádí pomocí šroubů M4 zašroubovaných do příčných nosníků. Tyto šrouby jsou čtyři na spodní a čtyři na horní straně zdroje.
Rozložení prvků na čelním a zadním panelu
Výkres sestavení
Instalaci může provádět pracovník poučený podle §5 vyhlášky 50/78 Sbírky .
Při uvádění výrobku do provozu bezprostředně po dopravě je nutné zajistit vyrovnání teploty zabaleného zdroje s teplotou provozního prostředí a zabránit tak vzniku orosení.
Při vlastní instalaci postupovat takto :
Zdroj upevníme do rámu napájeného zařízení pomocí upevňovacích šroubů.
Ke svorkovnici zdroje připojíme napájecí vodiče. Průřez těchto vodičů musí být takový, aby šrouby svorkovnice bylo možné dostatečně dotáhnout.
Zkontrolujeme stav trubičkových pojistkových vložek.
Připojíme přívody od sítě 220 V a pro ventilátor.
Po zapnutí sítového vypínače zkontrolujeme správnost připojení jednotlivých napájecích vodičů k zařízení měřením napětí.
Ověříme, zda je zaručen dobrý teplotní režim zdroje. Větrací otvory krytu nesmějí být zakrývány, musí být zajištěno volné proudění vzduchu okolo chladičů výkonových prvků.
Souhrn odběrů napájených zařízeni nesmí způsobit překročeni maximálního odběru napájecího zdroje v kterékoliv hladině výstupních napětí.
Veškerou manipulace se zdrojem, kromě běžného zapínáni a vypínáni, je možné provádět pouze ve vypnutém stavu. Při kontrole a výměně pojistkových vložek musí být zdroj odpojen od rozvodu sítového napětí. Zejména je zakázáno odnímat kryt a provozovat nezakrytovaný zdroj.
Poznámky uživatele k instalaci zdroje.
| Panelová vidlice je typu | WK 462 46 |
| Jako protikus používat kabelovou zásuvku | WK 180 28 |
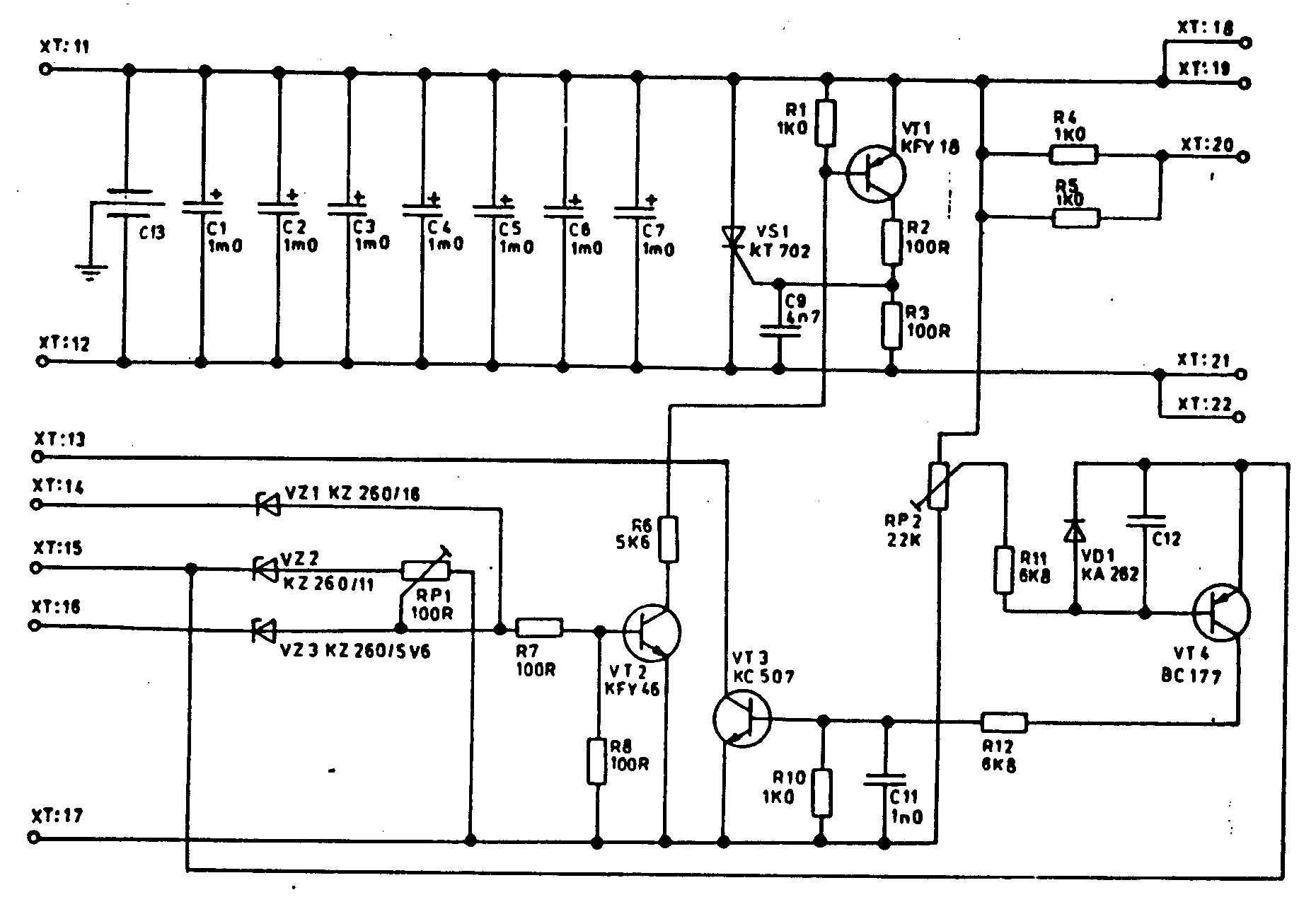
Schéma zapojení
Použité součástky
| název | pozice na schématu | hodn | typ |
| transform. | T1 | 6XN 661 73 | |
| tlumivka | L1 | WN 682 13 | |
| kond.odruš. | C1, C2 | TC290 | |
| dioda | VD1, VD2, VD3, VD4 | KYY 72 |
Schéma zapojení
Rozloženi součástek
Použité součástky
| název | pozice na desce | hodn | typ |
| odpor | R1, R10 | 1K | TR 191 |
| odpor | R2, R3, R7, R8 | 100R | TR 191 |
| odpor | R4, R5 | 820R | TR 224 |
| odpor | R6 | 5K6 | TR 191 |
| odpor | R11, R12 | 6K8 | TR 191 |
| odpor. trimr | RP1 | 100R | TP 095 |
| odpor. trimr | RP2 | 22K | TP 095 |
| kondenzátor | C1 až C7 | 1m0 | TE 677 |
| kondenzátor | C9 | 4m7 | TE 134 |
| kondenzátor | C11, C12 | 1n0 | TK 794 |
| odruš. kond. | C13 | WK 72 472 | |
| dioda | VD1 | KA 262 | |
| dioda zen. | VZ1 | KZ 260/16 | |
| dioda zen. | VZ2 | KZ 260/11 | |
| dioda zen. | VZ3 | KZ 260/5V6 | |
| tranzistor | VT1 | KFY 18 | |
| tranzistor | VT2 | KFY 46 | |
| tranzistor | VT3 | KC 237 B | |
| tranzistor | VT4 | BC 177A | |
| tvristor | VS1 | KT 702 |
Schéma zapojení
Rozloženi součástek
Použité součástky
| název | pozice na desce | hodn | typ |
| transform. | T1, T2 | 6XN 657 45 | |
| transform. | T3, T4 | 6XN 657 46 | |
| tlumivka | L1 | 6XN 650 34 | |
| tlumivka | L2 | 6XN 650 35 | |
| tlumivka | L3 | 6XN 650 33 | |
| odpor | R1, R21, R42, R33 | 270R | TR 191 |
| odpor | R4, R24, R43 | 220R | TR 191 |
| odpor | R3, R23 | 100R | TR 191 |
| odpor | R5, R25, R55 | 560R | TR 191 |
| odpor | R37 | 33R | TR 191 |
| odpor | R11, R31 | 10R | TR 191 |
| odpor | R44, R57 | 390R | TR 191 |
| odpor | R6, R45, R53, R46 | 5k6 | TR 191 |
| odpor | R7, R27, R52 | 10K | TR 191 |
| odpor | R8, R28, R52 | 15K | TR 191 |
| odpor | R9, R29, R49 | 56K | TR 191 |
| odpor | R12, R32, R54 | 1K0 | TR 191 |
| odpor | R13, R26 | 8K2 | TR 191 |
| odpor | R14, R36 | 2K7 | TR 191 |
| odpor | R35 | 6K8 | TR 191 |
| odpor | R34 | 470R | TR 191 |
| odpor | R50, R51 | 8R2 | TR 191 |
| odpor | R56 | 1K8 | TR 191 |
| odpor | R2, R22 | 820R | TR 224 |
| odpor | R41 | 39R | TR 224 |
| odpor. trimr | RP1, RP3, RP5 | 2K2 | TP 095 |
| odpor. trimr | RP2, RP4 | 1K0 | TP 095 |
| odpor. trimr | RP6 | 470R | TP 095 |
| kondenzátor | C1, C9, C10, C20 | 220µ | TF 010 |
| kondenzátor | C3, C22, C32 | 10µ | TE 132 |
| kondenzátor | C28, C29 | 1m | TE 984-PVC |
| kondenzátor | C40, C41 | 2m | TK 981-PVC |
| kondenzátor | C2, C8, C21, C27, C31, C37 | 100n | TK 783 |
| kondenzátor | C4, C23, C33 | 4n7 | TK 744 |
| kondenzátor | C7, C26, C36, C38, C39, C42 | 2n2 | TK 724 |
| kondenzátor | C6, C25, C35 | 1n0 | TK 794 |
| kondenzátor | C5, C24, C34 | 2n2 | TC 276 |
| dioda | VD1, VD21, VD31, VD33 | KAY 11 | |
| dioda | VD2, VD22 | KYW 31/100 | |
| dioda | VD34 | KYS 30/40 | |
| dioda zen. | VZ1 | KZ 260/15 | |
| dioda zen. | VZ2 | KZ 260/18 | |
| tranzistor | VT1, VT21, VT31 | KSY 34D | |
| tranzistor | VT2, VT22 | KD 138B | |
| tranzistor | VT33 | KC 509 | |
| obvod int. | DD1, DD2, DD3 | B 260 D |
Použité výkonové tranzistory
(osazené na chladiči)
| název | pozice na desce | hodn | typ |
| tranzistor | VT3, VT23 | KUY 12 | |
| tranzistor | VT32 | KD 503 |
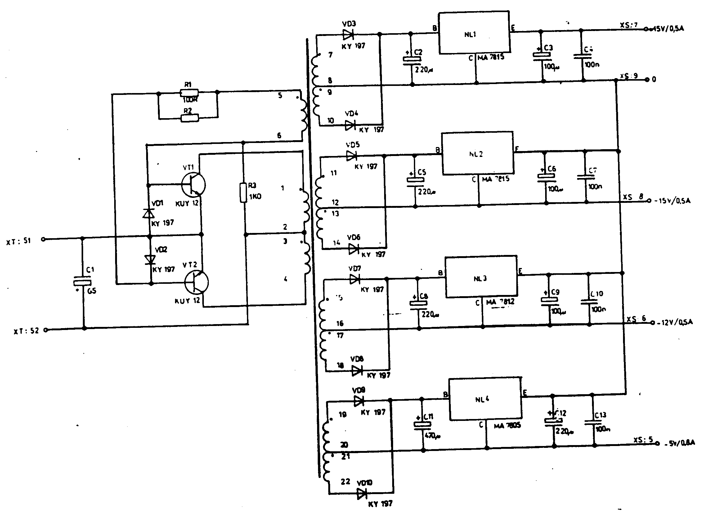
Schéma zapojení
Rozloženi součástek
Použité součástky
| název | pozice na desce | hodn | typ |
| transform. | T1 | 6XN 657 44 | |
| odpor | R1 | 100R | TR 224 |
| odpor | R2 | 330R | TR 224 |
| odpor | R3 | 1K0 | TR 223 |
| kondenzátor | C1 | 500µ | TE 986 |
| kondenzátor | C2, C5, C8 | 220µ | TF 009 |
| kondenzátor | C3, C6, C9 | 100µ | TF 008 |
| kondenzátor | C11 | 470µ | TF 008 |
| kondenzátor | C12 | 220µ | TF 007 |
| kondenzátor | C4, C7, C10, C13 | 100n | TK 783 |
| dioda | VD1-VD10 | KY 197 | |
| tranzistor | VT1, VT2 | KUY 12 | |
| obvod int. | NL1, NL2 | MA 7815 | |
| obvod int. | NL3 | MA 7812 | |
| obvod int. | NL4 | MA 7805 |
Zkoušky u výrobce:
Výrobce provádí typové, kontrolní, informační i dílčí zkoušky pro ověření vlastnosti výrobku v mezních pracovních podmínkách a pro regulaci kvality práce v průběhu výrobního procesu. Metodika a rozsah těchto zkoušek jsou dány interními předpisy, které konkretizují ustanovení státních, oborových a podnikových norem.
Záruka :
Výrobce ručí za jakost výrobku po dobu uvedenou na záručním listě.
Doprava :
Výrobek se přepravuje v dodávaném obalu chráněn před vlivy povětrnosti a agresivních látek všemi druhy krytých přepravních prostředků. Při přepravě nesmí docházet k hrubým otřesům. Klimatické podmínky při dopravě jsou určeny podle ČSN 36 9302 čl.1.8.1 to je :
| rozsah teplot | -40 °C až +50 °C |
| relativní vlhkost vzduchu | 95 % při 30 °C |
Skladování :
Skladovací prostor musí být suchý, dobře větraný, bez mechanických otřesů a chemických vlivů. Skladovací teplota musí být v rozmezí +5 °C až +40 °C a relativní vlhkost maximálně 85 % . Výrobky musí být skladovány v neporušeném obalu (ČSN 36 9302 čl. 1.9.4).
Údržba :
Zařízení neobsahuje žádné nastavovací prvky. V rámci údržby je možné vyměňovat pojistkové trubičkové vložky, případně odstraňovat usazený prach odsáváním.
Servis :
Záruční a běžné opravy výrobku zajišťuje TESLA ELTOS. Při poruše je nutné zaslat výrobek zabalený v přepravním obalu na adresu
| TESLA ELTOS DIZ | |
| Kocínova 136 | |
| 397 01 | PÍSEK |
Pro větší odebíraná množství si může odběratel dohodnout s výrobcem jinou formu zajišťování servisní činnosti.
Datum dne uvedení výrobku do provozu : _____________
Údaje o reklamacích : datum, obsah reklamace, opatření
Údaje o provozu : termín od-do, způsob práce, doba práce
Technická obsluha : datum, prováděné práce, technický stav
Závady při provozu : datum, charakteristika závady, příčina
Opravy, konstrukční změny : datum, popis, výsledný stav
Mikropočítačový soubor SAPI-1.5
Napájecí zdroj ZDR-1A
Výrobce si vyhrazuje v rámci technického rozvoje a dalšího vývoje zařízení provádět změny sloužící ke zlepšení funkce výrobku. Z tohoto důvodu se nemusí všechny údaje v textu a všechna vyobrazení zcela shodovat s dodávaným zařízením.
Uživatelská dokumentace je duševnim majetkem firmy TESLA LIBEREC. Rozmnožování podléhá souhlasu výrobce. Nerespektování uvedené podmínky, případně jiné zneužití dokumentace může být soudně stíháno.
(C) TESLA LIBEREC 1990
ÚVOD | Novinky | 8 Bitů | Příslušenství | Drobnosti | TTL | Kontakt
SAPI-1 | ONDRA | PMI-80 | PMD-85 | klony PMD-85 | klony SM50/40 | PETR | PLAN-80A | IQ151 | TNS | FK-1 | HVĚZDA | SP 830 | PCS 1-QR6000 | TEMS
ZPS | Technické prostředky | Programové vybavení | Dokumentace